Запчасти John Deere 50CLC 278 - PILOT SIGNAL MANIFOLD 3360 HYDRAULIC SYSTEM

Схема запчастей John Deere 50CLC - 278 - PILOT SIGNAL MANIFOLD 3360 HYDRAULIC SYSTEM
FIT
1:1
100%

Артикул

Название

Примечание

Количество

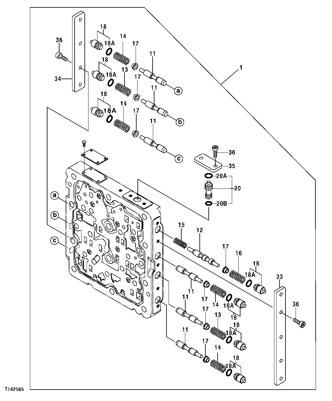
1

4470661

Flow Control Hyd. Valve

(SUB FOR 4443488 ) (ALSO ORDER 4461599, A852523 AND A852323)

1шт.

4461599

Hose

1шт.

A852523

Tee Fitting

1шт.

A852323

Elbow Fitting

1шт.

11

4453819

Spool Valve

(SUB FOR TH4453819)

6шт.

12

4453820

Spool Valve

(SUB FOR TH4453820)

1шт.

13

0788703

Spring

(SUB FOR TH0788703)

2шт.

14

0788704

Spring

(SUB FOR TH0788704)

4шт.

15

0788705

Spring

(SUB FOR TH0788705)

1шт.

16

0788706

Spring

(SUB FOR TH0788706)

1шт.

17

0788707

Valve Seat

(SUB FOR TH0788707)

7шт.

18

4452647

Pipe Plug

(SUB FOR TH4452647)

7шт.

18A

CH11560

Packing

1шт.

20

4452648

Spool Valve

(SUB FOR TH4452648)

1шт.

20A

CH11560

Packing

1шт.

20B

CH10567

Packing

1шт.

33

0788710

Plate

(SUB FOR TH0788710)

1шт.

34

0788711

Plate

(SUB FOR TH0788711)

1шт.

35

0788712

Plate

(SUB FOR TH0788712)

1шт.

36

0788713

Bolt

(SUB FOR TH0788713)

11шт.

Выбрано товаров: 20