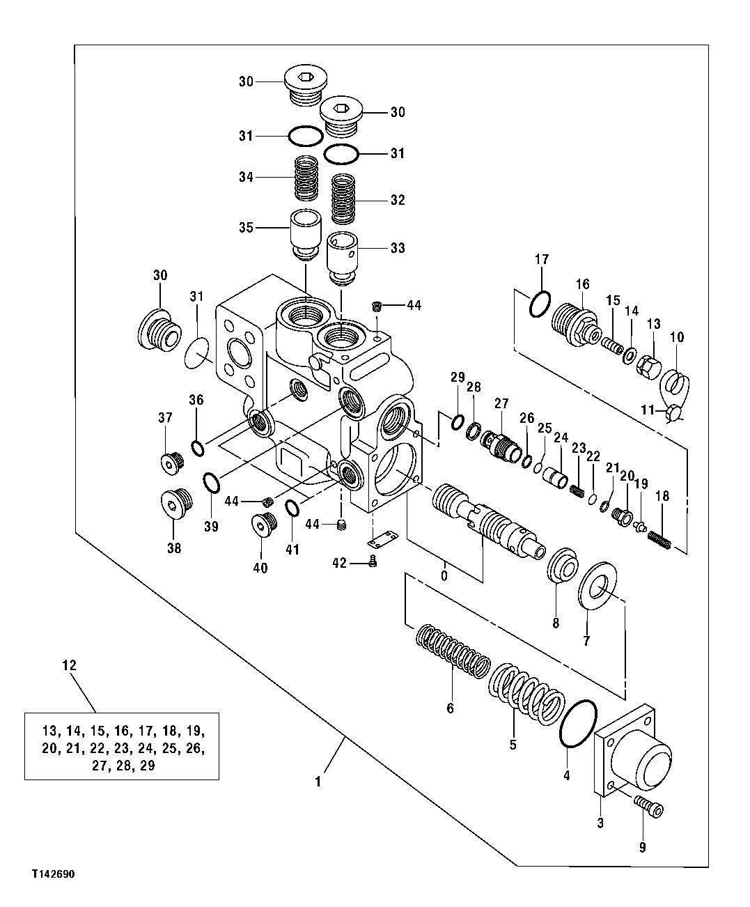
Запчасти John Deere 50CLC 291 - BOOM CYLINDER LOAD LOWERING VALVE COMPONENTS 3360 HYDRAULIC SYSTEM

Схема запчастей John Deere 50CLC - 291 - BOOM CYLINDER LOAD LOWERING VALVE COMPONENTS 3360 HYDRAULIC SYSTEM
FIT
1:1
100%

Артикул

Название

Примечание

Количество

0

Housing

( TH0663601 NLA)

1шт.

1

4473857

Flow Control Hyd. Valve

(SUB FOR 4358534)

2шт.

3

0658002

Cover

(SUB FOR AT217063)

1шт.

4

CH15107

Packing

1шт.

5

0658003

Compression Spring

(SUB FOR AT175923)

1шт.

6

0658004

Compression Spring

(SUB FOR AT175924)

1шт.

7

0343507

Washer

(SUB FOR AT175925)

1шт.

8

0658005

Retainer

(SUB FOR AT175926)

1шт.

9

19M8439

Screw

M8 X 25

4шт.

10

0658006

Wire

(SUB FOR AT175927)

2шт.

11

0658007

Plug

(SUB FOR AT175928)

1шт.

12

4483073

Pressure Relief Valve

(SUB FOR 0663901)

1шт.

13

Nut

(NA)

1шт.

14

Seal

(NA)

1шт.

15

Set Screw

(NA)

1шт.

16

Piston

(NA)

1шт.

17

CH17886

Packing

1шт.

18

Compression Spring

(NA)

1шт.

19

Valve

(NA)

1шт.

20

Seat

(NA)

1шт.

21

Back-Up Ring

(NA)

1шт.

22

O-Ring

(NA)

1шт.

23

Compression Spring

(NA)

1шт.

24

Poppet

(NA)

1шт.

25

O-Ring

(NA)

1шт.

26

Back-Up Ring

(NA)

1шт.

27

Sleeve

(NA)

1шт.

28

4038533

Back-Up Ring

(SUB FOR TH100050)

1шт.

29

CH11570

O-Ring

1шт.

30

0658008

Fitting Plug

(SUB FOR AT175929)

3шт.

31

TH101926

O-Ring

3шт.

32

0343510

Compression Spring

(SUB FOR AT175875)

1шт.

33

0343505

Plunger

(SUB FOR AT175876)

1шт.

34

0223202

Compression Spring

(SUB FOR TH106368)

1шт.

35

0343504

Plunger

(SUB FOR AT175932)

1шт.

36

M800650

Packing

1шт.

37

0314205

Plug

(SUB FOR AT120949 OR TH0314205)

1шт.

38

0343611

Fitting Plug

(SUB FOR AT175933)

1шт.

39

4506418

O-Ring

(SUB FOR U46489)

1шт.

40

15M7036

Drain Plug

(SUB FOR TH109285 OR 0309805)

2шт.

41

CH11570

O-Ring

2шт.

42

Screw

( TH105699 NLA)

2шт.

44

0343514

Fitting Plug

(SUB FOR AT175880)

6шт.

Выбрано товаров: 43