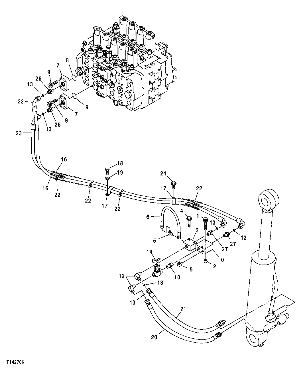
Запчасти John Deere 50CLC 297 - COUNTERWEIGHT REMOVAL HIGH-PRESSURE HYDRAULIC HOSES 3360 HYDRAULIC SYSTEM

Схема запчастей John Deere 50CLC - 297 - COUNTERWEIGHT REMOVAL HIGH-PRESSURE HYDRAULIC HOSES 3360 HYDRAULIC SYSTEM
FIT
1:1
100%

Артикул

Название

Примечание

Количество

0

4240863

Flow Control Hyd. Valve

(SUB FOR AT132548)

1шт.

1

19M7875

Cap Screw

M10 X 70

2шт.

12M7066

Lock Washer

10 mm

2шт.

2

4131346

Spacer

(SUB FOR AT132491)

2шт.

3

4240862

Manifold

(SUB FOR AT132547)

1шт.

4

19M8655

Cap Screw

M10 X 55

2шт.

12M7066

Lock Washer

10 mm

2шт.

5

4154656

Elbow Fitting

(SUB FOR TH101588)

2шт.

6

AT126482

Hydraulic Hose

11.1252" X 500 mm (19-3/4") X 11.1252"

1шт.

7

4395369

Flange Fitting

(SUB FOR TH4395369)

2шт.

8

T72216

O-Ring

2шт.

9

19M8734

Screw

M14 X 45

8шт.

10

94-1703

Adapter Fitting

(SUB FOR TH101976)

1шт.

12

4274178

Elbow Fitting

(SUB FOR AT170146)

2шт.

13

T77857

O-Ring

6шт.

14

4220806

Flow Control Hyd. Valve

(SUB FOR AT128495)

1шт.

16

Tube

(CTL) (MAKE FROM AT138222)

4шт.

17

R50454

Clamp

(SUB FOR TH109445 OR 4192034)

2шт.

18

19M8324

Cap Screw

M10 X 16

1шт.

19

12M7066

Lock Washer

10 mm

1шт.

20

4457800

Hydraulic Hose

(SUB FOR TH4457800 AND THA853144)

1шт.

21

4457798

Hydraulic Hose

(SUB FOR TH4457798)

1шт.

22

H77698

Tie Band

4шт.

23

4348093

Hydraulic Hose

(SUB FOR TH4348093)

2шт.

24

19M7938

Cap Screw

M10 X 20

1шт.

12M7066

Lock Washer

10 mm

1шт.

26

A853144

Adapter Fitting

2шт.

4506418

O-Ring

(SUB FOR U46489)

2шт.

27

4210942

Adapter Fitting

(SUB FOR AT131868)

2шт.

Выбрано товаров: 29