Запчасти John Deere 50CLC 299 - AUXILIARY HYDRAULIC LINES 3360 HYDRAULIC SYSTEM

Схема запчастей John Deere 50CLC - 299 - AUXILIARY HYDRAULIC LINES 3360 HYDRAULIC SYSTEM
FIT
1:1
100%

Артикул

Название

Примечание

Количество

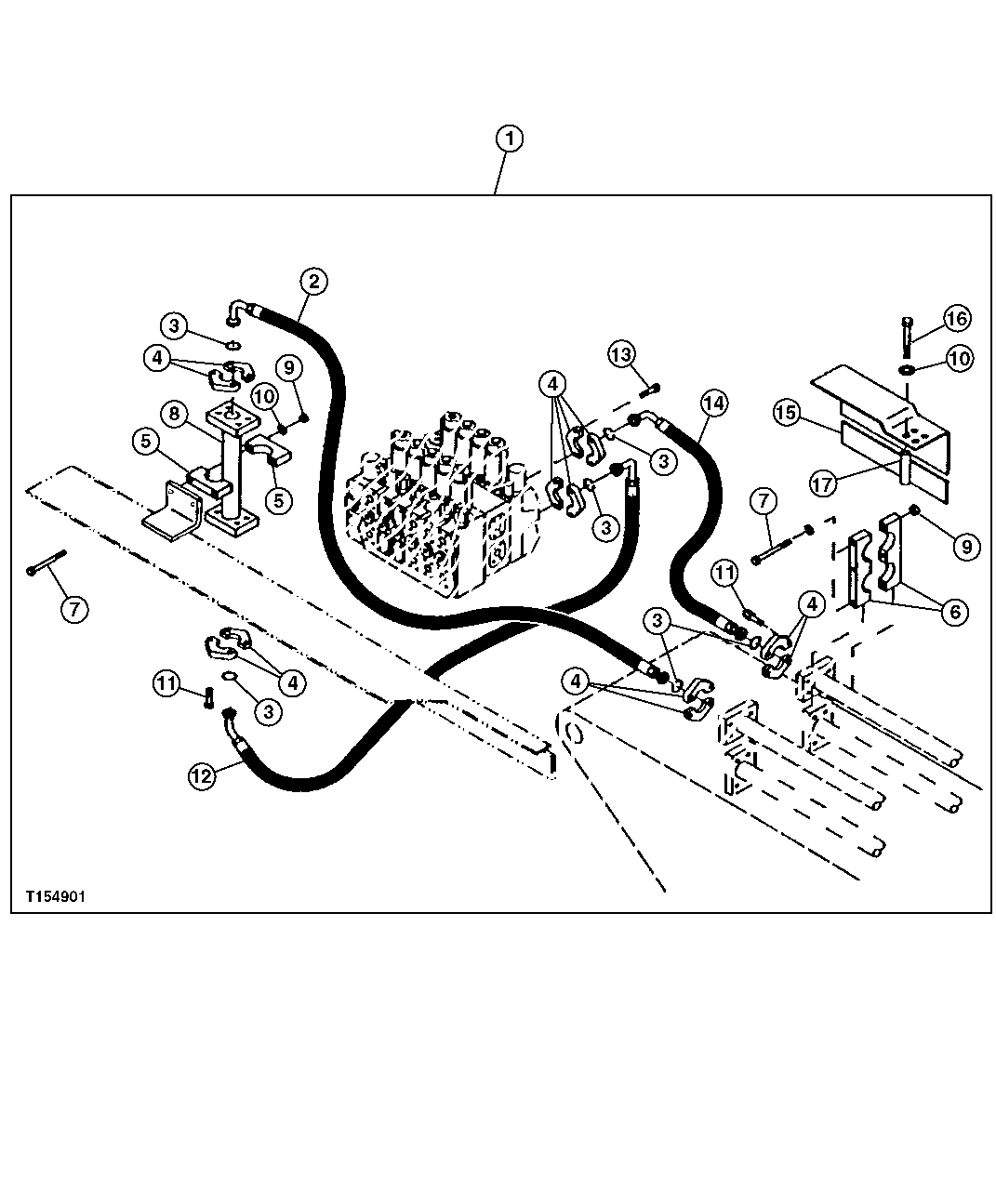
1

Field Installation Kit

Auxiliary Assembly Contains All Items On T his Page - Additional Components Listed On Separate Pages (WHOLE GOODS) ( AT195681 NLA )

1шт.

2

AT169988

Hydraulic Hose

1-1/4" X 1650 mm (65") X 1-1/4" Boom (RH)

1шт.

3

T72216

O-Ring

37.694 X 3.531 mm (1-31/64" X 0.139")

6шт.

4

AT131685

Flange Fitting

12шт.

5

AT201796

Clamp

2шт.

6

T155058

Clamp

( T153801 NLA)

4шт.

7

19M7818

Screw

M12 X 80

8шт.

8

AT172487

Flange Fitting

1шт.

9

14M7299

Flange Nut

M12

8шт.

10

24M7240

Washer

13 X 25 X 3 mm

4шт.

11

19M7393

Cap Screw

M14 X 50 (SUB FOR 19M6579)

12шт.

12

AT172373

Hydraulic Hose

1-1/4" X 1300 mm (51-1/4") X 1-1/4" Lower Control Valve

1шт.

13

T114269

Cap Screw

M14 X 45

8шт.

14

AT169989

Hydraulic Hose

1-1/4" X 1730 mm (68") X 1-1/4" Boom (LH)

1шт.

15

T155063

Shield

1шт.

16

19M8037

Cap Screw

M12 X 180

2шт.

17

28H2695

Bushing

0.546" X 0.840" X 3-1/2"

2шт.

Выбрано товаров: 0