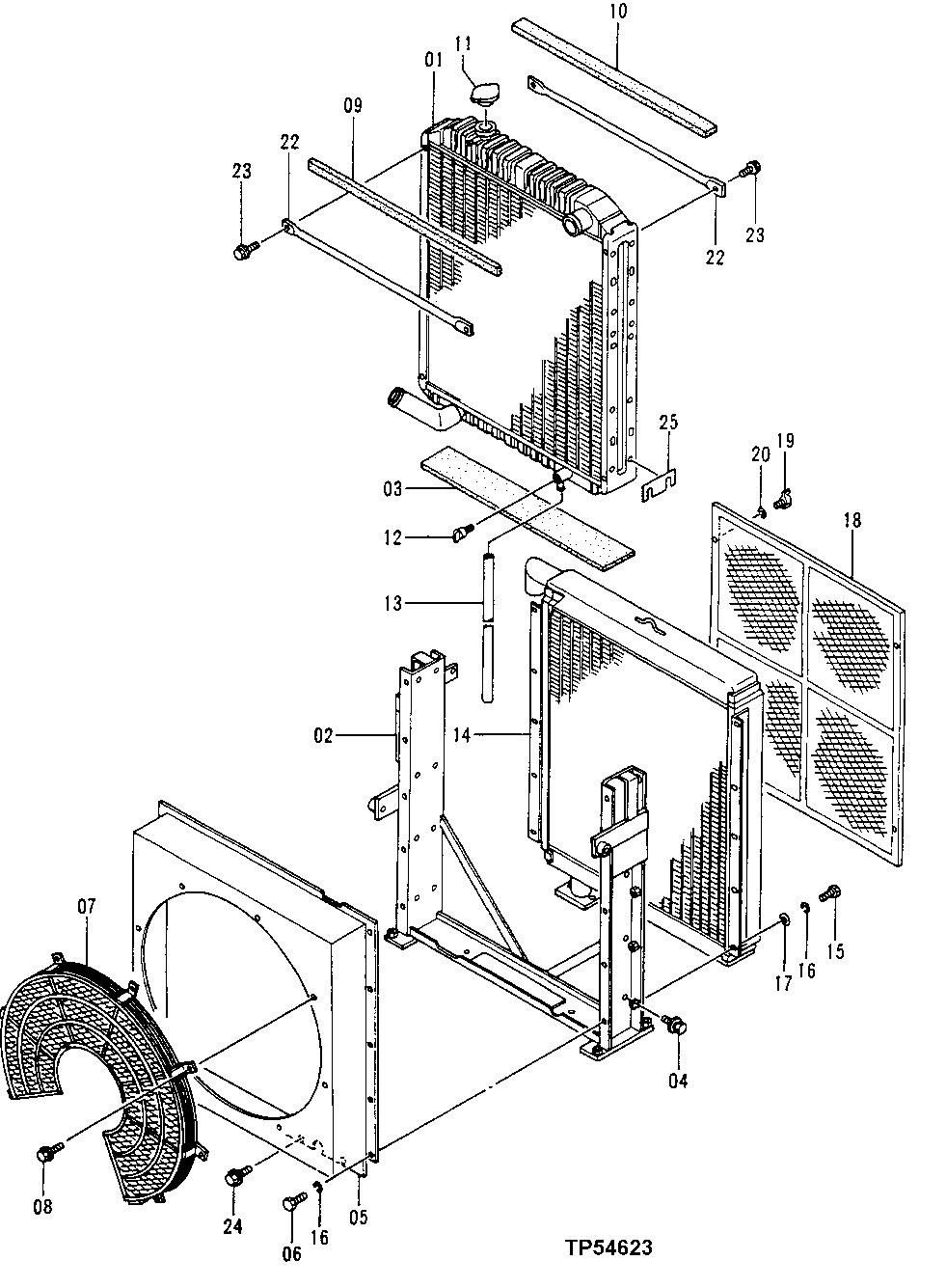
Запчасти John Deere 50LC 72 - Radiator and Oil Cooler 0510 Engine Cooling Systems

Схема запчастей John Deere 50LC - 72 - Radiator and Oil Cooler 0510 Engine Cooling Systems
FIT
1:1
100%

Артикул

Название

Примечание

Количество

1

4361246

Radiator

SUB FOR AT173256

1шт.

2

4361245

Frame

SUB FOR AT173257

1шт.

3

4237636

Isolator

SUB FOR AT132529

1шт.

4

4331645

Bolt

SUB FOR AT202144

16шт.

5

4361244

Shroud

SUB FOR AT173259

1шт.

6

19M7402

Cap Screw

M10 X 25

10шт.

7

4361472

Guard

SUB FOR AT173262; FAN

1шт.

8

19M7932

Cap Screw

M8 X 16 SUB FOR AT202245 OR 4331649

7шт.

Washer

12M7065 NLA

7шт.

9

4237639

Isolator

SUB FOR AT132530

2шт.

10

4237640

Isolator

SUB FOR AT132531

2шт.

11

AT169085

Filler Cap

1шт.

12

4148705

Drain Plug

SUB FOR TH109425

1шт.

13

Hose

1/2 in., Furnish VINYL TUBING; CTL

1шт.

14

4333473

Oil Cooler

SUB FOR AT176329

1шт.

15

19M7402

Cap Screw

M10 X 25

10шт.

16

12M7066

Lock Washer

10 mm

20шт.

17

24M7028

Washer

10.500 X 20 X 2 mm

10шт.

18

4237643

Screen

SUB FOR AT132533

1шт.

19

21M1689

Wing Screw

M6 X 12

4шт.

20

24M7054

Washer

6.400 X 12 X 1.600 mm

4шт.

22

4237644

Brace

SUB FOR AT132534

2шт.

23

4331645

Bolt

SUB FOR AT202144

4шт.

24

4331647

Bolt

SUB FOR AT202146

4шт.

25

4331651

Bracket

SUB FOR AT202149

4шт.

Выбрано товаров: 25