Запчасти John Deere 50LC 82 - Muffler 0530 External Exhaust Systems

Схема запчастей John Deere 50LC - 82 - Muffler 0530 External Exhaust Systems
FIT
1:1
100%

Артикул

Название

Примечание

Количество

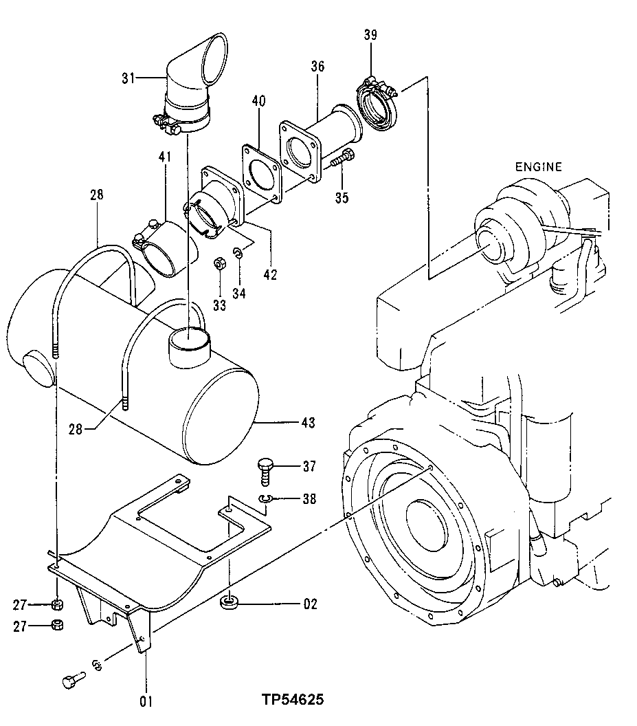
1

7021050

Bracket

(SUB FOR AT132059)

1шт.

2

4339771

Washer

(SUB FOR AT202157)

1шт.

27

14M7274

Nut

M10

8шт.

28

4244013

U-Bolt

(SUB FOR AT131995)

2шт.

31

8088326

Exhaust Pipe

(SUB FOR 4321934)

1шт.

33

14M7275

Nut

M12

4шт.

34

12H301

Lock Washer

1/2"

4шт.

35

19M7496

Cap Screw

M12 X 45

4шт.

36

8068956

Exhaust Pipe

(SUB FOR AT217165)

1шт.

37

19H2994

Cap Screw

5/8" X 1-1/2"

2шт.

38

12H294

Lock Washer

5/8"

2шт.

39

RE40048

Clamp

1шт.

40

T151881

Gasket

1шт.

41

4246987

Clamp

(SUB FOR AT132002)

1шт.

42

8046425

Exhaust Pipe

(SUB FOR AT132585)

1шт.

43

4377043

Muffler

(SUB FOR AT178127)

1шт.

Выбрано товаров: 16