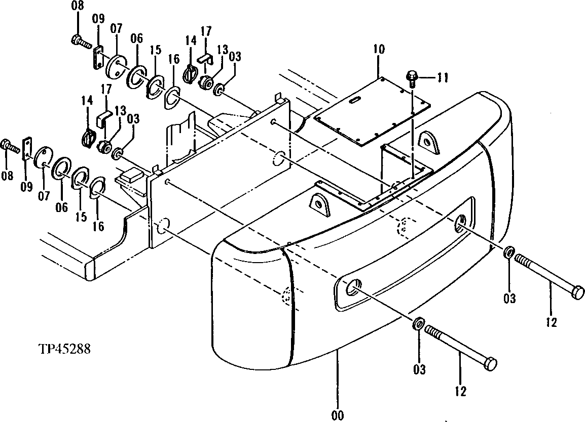
Запчасти John Deere 50LC 116 - Counterweight 1740 Frame Installation

Схема запчастей John Deere 50LC - 116 - Counterweight 1740 Frame Installation
FIT
1:1
100%

Артикул

Название

Примечание

Количество

0

AT217005

Counterweight

WHOLEGOODS Convenience Assembly

1шт.

3

4103743

Bushing

46 X 70 X 10 mm (1.811" X 2.7 56" X 0.394") SUB FOR AT131690

4шт.

6

4270268

Washer

SUB FOR AT202395

2шт.

Washer

NLA

2шт.

7

4270269

Spacer

SUB FOR AT201731

2шт.

8

J912455

Bolt

M24 X 55 SUB FOR AT131548

4шт.

9

4070952

Strap

SUB FOR AT131678

2шт.

10

4338256

Cover

SUB FOR AT201813

1шт.

11

19M7932

Cap Screw

M8 X 16

9шт.

Washer

12M7065 NLA

9шт.

12

4341856

Cap Screw

SUB FOR AT202396

2шт.

13

4246150

Nut

M45 SUB FOR AT132682

2шт.

14

9701925

Quick Lock Pin

SUB FOR AT132681

2шт.

15

4207762

Washer

123 X 160 X 1 mm (4.843" X 6.2 99" X 0.039") SUB FOR AT131842

4шт.

16

4207763

Shim

SUB FOR AT131843

2шт.

17

4345741

Shim

SUB FOR AT202397

2шт.

Выбрано товаров: 16