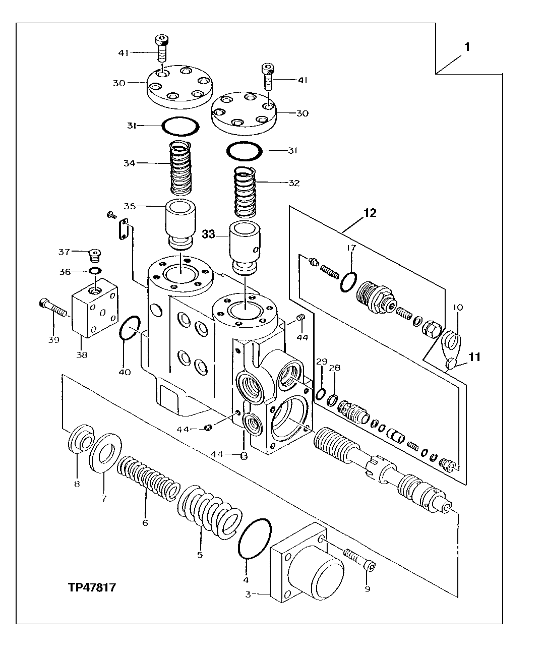
Запчасти John Deere 50LC 206 - ARM BOTTOM LOAD LOWERING HOLDING VALVE 2162 Hydraulic Selective Control & Load Holding Valves

Схема запчастей John Deere 50LC - 206 - ARM BOTTOM LOAD LOWERING HOLDING VALVE 2162 Hydraulic Selective Control & Load Holding Valves
FIT
1:1
100%

Артикул

Название

Примечание

Количество

1

4473861

Flow Control Hyd. Valve

(SUB FOR 4358533) (ARM BOTTOM LOAD LOWERING HOLDING VALVE)

1шт.

3

0658102

Cover

(SUB FOR AT175935)

1шт.

4

AT264334

O-Ring

(SUB FOR TH100101)

1шт.

5

0658103

Compression Spring

(SUB FOR AT175936)

1шт.

6

0658104

Compression Spring

(SUB FOR AT175939)

1шт.

7

0658105

Holder

(SUB FOR AT175940)

1шт.

8

0658106

Holder

(SUB FOR AT175941)

1шт.

9

19M8338

Screw

M10 X 40

4шт.

10

0658107

Wire

(SUB FOR AT175942)

2шт.

11

0658108

Disk

(SUB FOR AT175943)

1шт.

12

4483073

Pressure Relief Valve

(SUB FOR 0663901)

1шт.

17

CH17886

Packing

1шт.

28

4038533

Back-Up Ring

(SUB FOR TH100050)

1шт.

29

CH11570

O-Ring

13.800 X 2.400 mm (0.543" X 3/32")

1шт.

30

0658109

Cover

(SUB FOR AT175944)

2шт.

31

A811040

O-Ring

39.400 X 3.100 mm (1.551" X 0.122") (SUB FOR TH102992)

2шт.

32

0343510

Compression Spring

(SUB FOR AT175875)

1шт.

33

0343505

Plunger

(SUB FOR AT175876)

1шт.

34

0223202

Compression Spring

(SUB FOR TH106368)

1шт.

35

0343504

Plunger

(SUB FOR AT175877) (SUB FOR AT175932)

1шт.

36

M800650

Packing

1шт.

37

0314205

Plug

(SUB FOR AT120949 OR TH0314205)

1шт.

38

0343503

Cover

(SUB FOR AT175878)

1шт.

39

19M8274

Screw

M8 X 35

4шт.

40

AT264324

O-Ring

(SUB FOR TH100044)

1шт.

41

19M8337

Screw

M10 X 30

12шт.

44

0343514

Fitting Plug

(SUB FOR AT175880)

6шт.

Выбрано товаров: 27