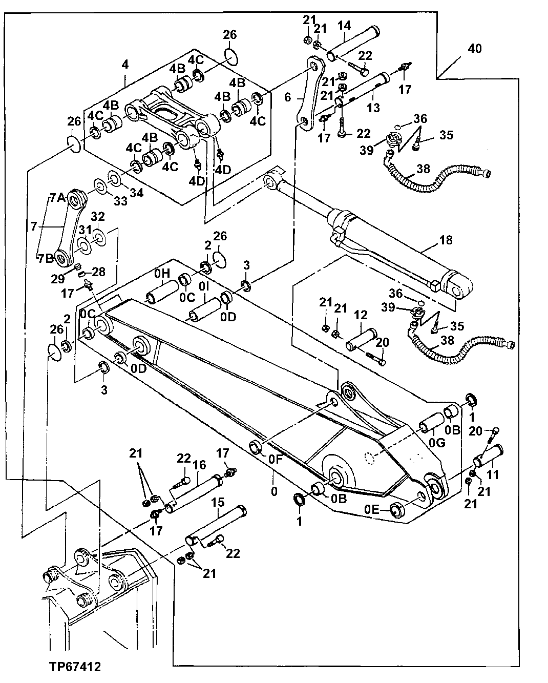
Запчасти John Deere 50LC 248 - Standard Arm 3.4m 3340 Backhoe & Excavator Frames

Схема запчастей John Deere 50LC - 248 - Standard Arm 3.4m 3340 Backhoe & Excavator Frames
FIT
1:1
100%

Артикул

Название

Примечание

Количество

0

7024089

Arm

(SUB FOR AT180631) (WHOLEGOODS) (S TANDARD ARM) (CONVENIENCE ASSEMBLY)

1шт.

0B

3055205

Bushing

(SUB FOR AT201685)

2шт.

0C

AT217078

Bushing

2шт.

0D

TH103214

Bushing

100 X 115 X 60 mm (3-15 /16" X 4.528" X 2.362")

2шт.

0E

4662435

Stop

(SUB FOR AT131769 OR 4205110)

1шт.

0F

Plate

( TH103198 NLA)

1шт.

0G

4334122

Spacer

(SUB FOR AT202332)

1шт.

0H

4334123

Spacer

(SUB FOR AT202333)

1шт.

0I

4334124

Spacer

(SUB FOR AT202334)

1шт.

1

4251752

Seal

(SUB FOR AT202304)

2шт.

2

4251212

Seal

(SUB FOR AT202303)

2шт.

3

TH102411

Seal

2шт.

4

9114176

Link

(SUB FOR AT201931)

1шт.

4B

AT201695

Bushing

4шт.

4C

AT131682

Seal

6шт.

4D

TH100074

Lubrication Fitting

2шт.

6

8050176J

Link

(SUB FOR AT201887 OR 8050176)

1шт.

7

8050178J

Link

(SUB FOR AT201888 OR 8050178)

1шт.

7A

4271095

Stop

(SUB FOR AT203620)

1шт.

7B

4271654

Stop

(SUB FOR AT201735)

1шт.

11

AT128428

Pin Fastener

1шт.

12

AT131627

Pin Fastener

105 X 324 mm (4.134" X 12.756")

1шт.

13

3055219

Pin Fastener

(SUB FOR AT201687)

1шт.

14

DH300061

Pin Fastener

(SUB FOR AT201694)

1шт.

15

3104742R

Pin

(SUB FOR AT217077, 3079232 OR 3104742)

1шт.

16

AT201693

Pin Fastener

1шт.

17

TH100074

Lubrication Fitting

6шт.

18

Cylinder

(BUCKET CYLINDER) (FOR DETA IL SEE BUCKET CYLINDER PAGE)

1шт.

20

19M8100

Cap Screw

M20 X 180

2шт.

21

14M7277

Nut

M20

12шт.

22

4276312R

Bolt

(SUB FOR AT202121)

4шт.

26

4288572

O-Ring

(SUB FOR AT201748)

4шт.

28

4130686

Bushing

(SUB FOR AT217082)

2шт.

29

4105912

Cap

(SUB FOR AT217081)

2шт.

31

4134370R

Shim

(SUB FOR AT202083 OR 4134370)

1шт.

32

4134371R

Shim

(SUB FOR AT131702 OR 4134371)

1шт.

33

4134372

Washer

111 X 190 X 1 mm (4.370" X 7.48 0" X 0.039") (SUB FOR AT202084)

1шт.

34

4134373R

Shim

(SUB FOR AT131703 OR 4134373)

1шт.

35

19M8395

Screw

M12 X 40

8шт.

36

T78313

O-Ring

32.920 X 3.530 mm (1.296" X 0.139")

2шт.

38

AT172097

Hydraulic Hose

2шт.

39

4085560

Flange Fitting

(SUB FOR TH101960)

4шт.

40

AT180630

Arm

(WHOLEGOODS) (INCLUDES STANDARD ARM, BUCKET CYLINDER, HOSES, AND LINKAGE)

1шт.

Выбрано товаров: 43