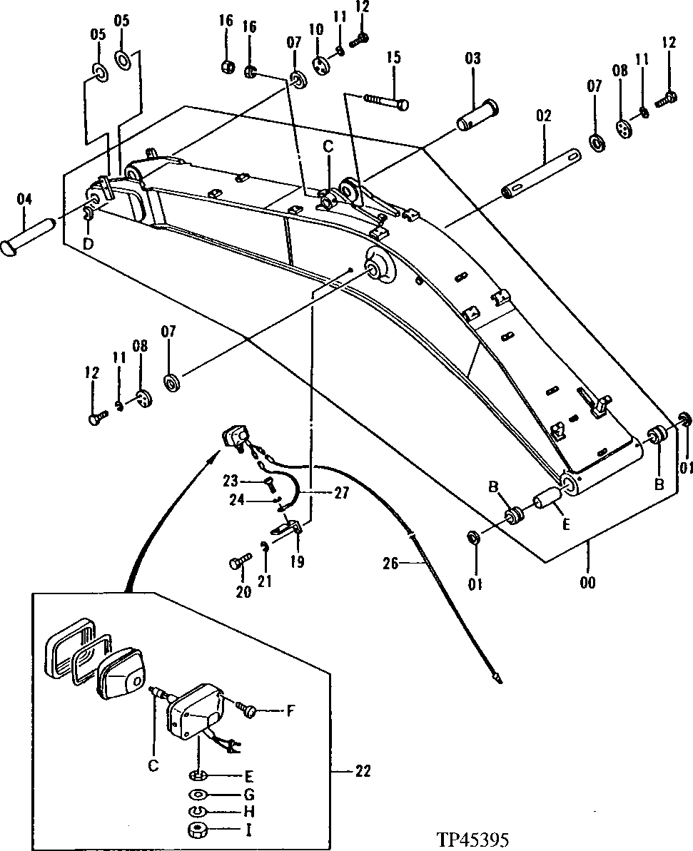
Запчасти John Deere 50LC 251 - Standard Boom 3344 Boom

Схема запчастей John Deere 50LC - 251 - Standard Boom 3344 Boom
FIT
1:1
100%

Артикул

Название

Примечание

Количество

0

Excavator Boom

Standard ( AT201855 OR 7024088 NLA)

1шт.

7027727J

Excavator Boom

Heavy Duty

1шт.

0B

3055205

Bushing

(SUB FOR AT201685)

2шт.

0C

4662435

Stop

(SUB FOR AT131769 OR 4205110)

1шт.

0D

4299048

Stop

(SUB FOR AT201753)

1шт.

0E

4334120

Spacer

(SUB FOR AT202331)

1шт.

1

4251752

Seal

(SUB FOR AT202304)

2шт.

2

AT131630

Pin

1шт.

3

AT128428

Pin Fastener

1шт.

4

AT132098

Pin

1шт.

5

4232239R

Shim

(SUB FOR AT131939 OR 4232239)

ARшт.

7

4040931

Washer

(SUB FOR AT131672)

3шт.

8

4117700

Spacer

(SUB FOR AT131693)

2шт.

10

4206989

Washer

(SUB FOR AT131805)

1шт.

11

12M7070

Lock Washer

20 mm

11шт.

12

19M7597

Cap Screw

M20 X 50 (SUB FOR J912050)

11шт.

15

19M8100

Cap Screw

M20 X 180

1шт.

16

14M7277

Nut

M20

2шт.

19

4224631

Angle

(SUB FOR TH111685)

1шт.

20

J901425

Cap Screw

(SUB FOR TH104071)

1шт.

21

12H317

Lock Washer

9/16"

1шт.

22

4326800

Lamp

(SUB FOR AT176424)

1шт.

22C

AT135758

Bulb

1шт.

22E

4307026

Washer

(SUB FOR T144361)

1шт.

22F

37H19

Screw

(SUB FOR T144362 OR 4307027)

1шт.

22G

24M7085

Washer

15 X 28 X 2.500 mm

1шт.

22H

12H317

Lock Washer

9/16"

1шт.

22I

14M7345

Nut

M14 (SUB FOR J952014) (SUB FOR TH103791)

1шт.

23

21M7288

Screw

M6 X 10

1шт.

24

12M7006

Lock Washer

6 mm

1шт.

26

4271787

Wiring Harness

(SUB FOR AT201736)

1шт.

27

4271788

Wiring Harness

(SUB FOR AT202117)

1шт.

Выбрано товаров: 32