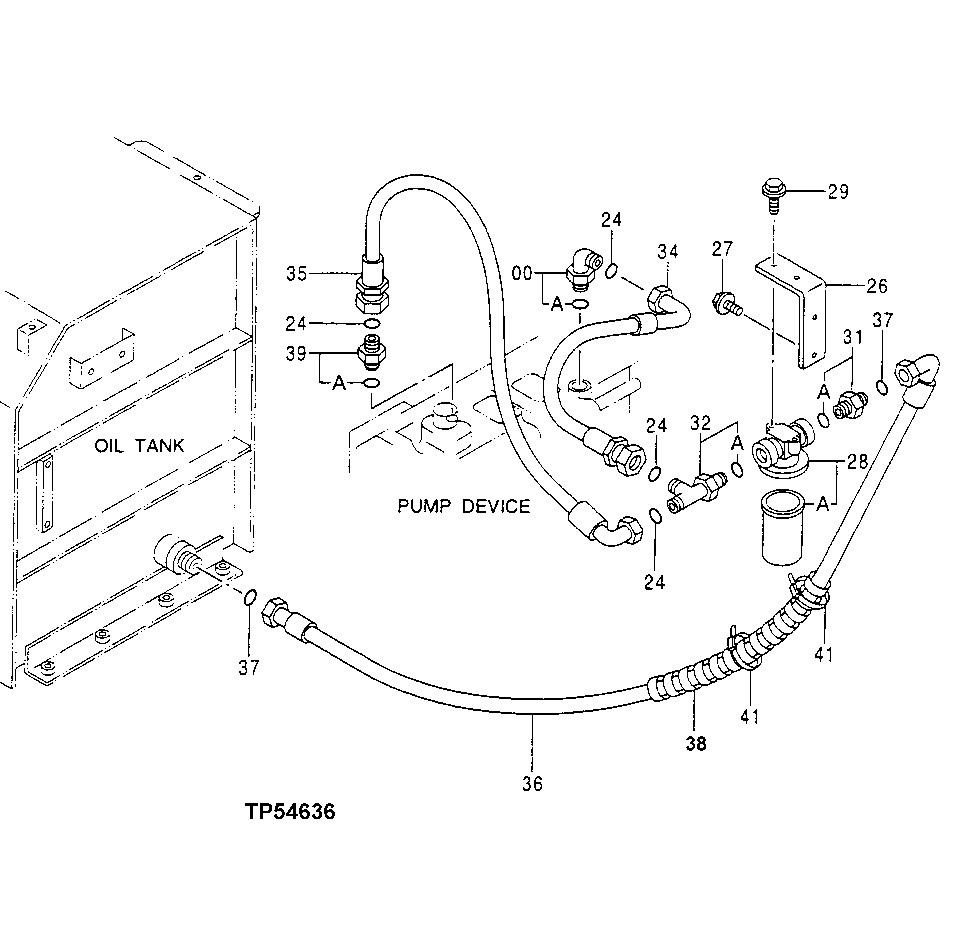
Запчасти John Deere 50LC 252 - Drain Lines (Oil Tank) 3360 Hydraulic System

Схема запчастей John Deere 50LC - 252 - Drain Lines (Oil Tank) 3360 Hydraulic System
FIT
1:1
100%

Артикул

Название

Примечание

Количество

0

4157562

Elbow Fitting

(SUB FOR TH109540)

1шт.

0A

AT318035

O-Ring

(SUB FOR 4506424, TH100055)

1шт.

24

T77858

O-Ring

18.771 X 1.778 mm (0.739" X 0.070")

4шт.

26

4362407

Bracket

(SUB FOR AT175915)

1шт.

27

19M8011

Cap Screw

M12 X 30

2шт.

12M7058

Lock Washer

12 mm (SUB FOR 12M7067)

2шт.

28

4362444

Filter

(SUB FOR AT175916)

1шт.

28A

4363399

Filter Element

(SUB FOR AT175919)

1шт.

29

19M7402

Cap Screw

M10 X 25

2шт.

12M7066

Lock Washer

10 mm

2шт.

31

4189535

Adapter Fitting

(SUB FOR AT114853)

1шт.

31A

TH101926

O-Ring

28.700 X 3.500 mm (1.130" X 0.138")

1шт.

32

4257724

Tee Fitting

(SUB FOR AT175917)

1шт.

32A

TH101926

O-Ring

28.700 X 3.500 mm (1.130" X 0.138")

1шт.

34

4300369

Hose

(SUB FOR AT173776)

1шт.

35

AT202461

Hydraulic Hose

1шт.

36

4365395

Hydraulic Hose

(SUB FOR AT175918)

1шт.

37

T76938

O-Ring

23.520 X 1.780 mm (0.926" X 0.070")

2шт.

38

Hose Guard

(MF XHG-075 CTL) (SUB FO R AT138222) Bulk Material

2шт.

39

A853166

Adapter Fitting

(SUB FOR AT107392 OR 4189619)

1шт.

39A

AT318035

O-Ring

(SUB FOR 4506424, TH100055)

1шт.

41

H77698

Tie Band

2шт.

Выбрано товаров: 22