Запчасти John Deere 50LC 268 - Electric Solenoid Valve Kit 3360 Hydraulic System

Схема запчастей John Deere 50LC - 268 - Electric Solenoid Valve Kit 3360 Hydraulic System
FIT
1:1
100%

Артикул

Название

Примечание

Количество

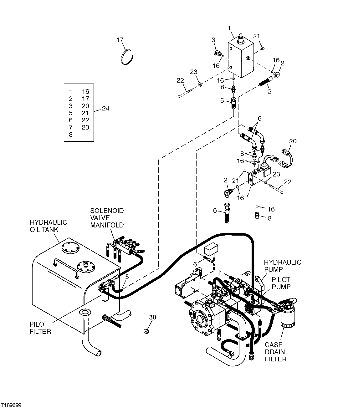
1

AT186623

Hydraulic Pressure Valve

1шт.

2

AT35121

Elbow Fitting

4шт.

3

AH75160

Elbow Fitting

2шт.

5

AT71082

Hydraulic Hose

( AE42718 NLA)

1шт.

6

AT69806

Hydraulic Hose

3шт.

7

AT306723

Elec.Proportional Valve

(SUB FOR AT116486 AND AT140041)

1шт.

Electrical Coil

( AT140041 NLA)

1шт.

8

R27212

Fitting

4шт.

16

R26448

O-Ring

11.887 X 1.981 mm (0.468" X 5/64")

7шт.

17

R44302

Tie Band

4шт.

20

AT191297

Wiring Harness

1шт.

21

14M7272

Nut

M6

4шт.

22

19M7529

Cap Screw

M6 X 55

4шт.

23

24M7139

Washer

6.400 X 18 X 1.600 mm

4шт.

24

Field Installation Kit

(WHOLE GOODS) (ALSO ORDER AE24616, AT71082, (2) TH108320, AT69806 AND T188662 (ORDER (1) T188662 INSTALL ATION INSTRUCTIONS) ( AT186622 NLA)

1шт.

25

AE24616

Elbow Fitting

Not Illustrated

1шт.

26

AT130053

Adapter Fitting

Not Illustrated

1шт.

27

AT130684

Hydraulic Hose

Not Illustrated

1шт.

30

R31147

Fitting

1шт.

Выбрано товаров: 19