Запчасти John Deere 50LC 282 - Pilot Lines To Oil Tank Fittings 3363 Lines, hoses and fittings

Схема запчастей John Deere 50LC - 282 - Pilot Lines To Oil Tank Fittings 3363 Lines, hoses and fittings
FIT
1:1
100%

Артикул

Название

Примечание

Количество

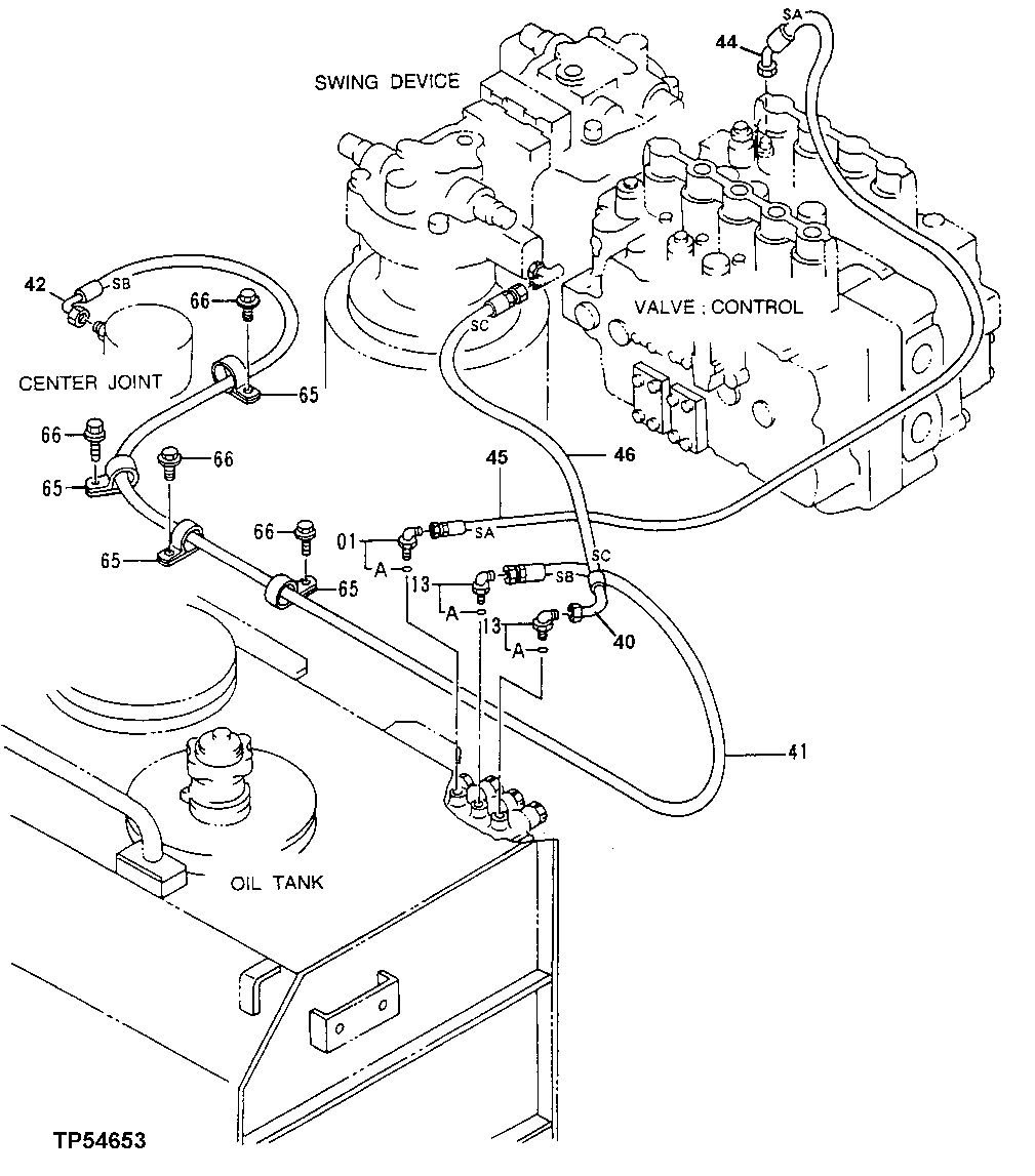
1

4154670

Elbow Fitting

(SUB FOR TH100951)

1шт.

1A

M800650

Packing

1шт.

13

AT318014

Elbow Fitting

(SUB FOR 4156434) (SUB FOR TH101930)

2шт.

13A

M800650

Packing

1шт.

40

X4V6X-S

Elbow Fitting

(SUB FOR X3703-4-4)

1шт.

41

AA36172

Hydraulic Hose

9/16" X 3300 mm (130") X 9/16"

1шт.

42

AE24616

Elbow Fitting

1шт.

44

X4V6X-S

Elbow Fitting

(SUB FOR X3703-4-4)

1шт.

45

AE42280

Hydraulic Hose

11.1252" X 1199 mm (47-1/4") X 11.1252"

1шт.

46

AE42280

Hydraulic Hose

11.1252" X 1199 mm (47-1/4") X 11.1252"

1шт.

65

T28949

Clamp

(SUB FOR TH108460 OR 4190273)

4шт.

66

19M8761

Screw

M10 X 22

4шт.

12M7058

Lock Washer

12 mm (SUB FOR 12M7067)

4шт.

Выбрано товаров: 13