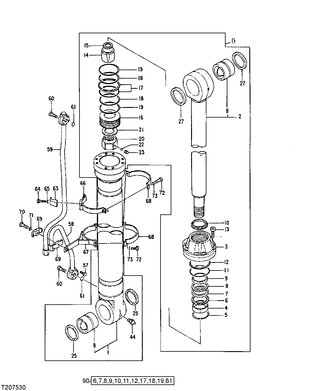
Запчасти John Deere 50LC 295 - Right Boom Cylinder ( - 090466) 3365 Hydraulic Cylinders

Схема запчастей John Deere 50LC - 295 - Right Boom Cylinder ( - 090466) 3365 Hydraulic Cylinders
FIT
1:1
100%

Артикул

Название

Примечание

Количество

0

4340511

Hydraulic Cylinder

AT264221 NLA

1шт.

1

0420101

Hydraulic Cylinder Barrel

SUB FOR AT201569

1шт.

Cylinder Reman

PG201235 NLA, ORDER 0420101, REMAN

1шт.

1B

4609090

Bushing

SUB FOR 0420112 AND AT201570

1шт.

2

0420103

Rod

SUB FOR AT201571

1шт.

2B

4S00897

Bushing

SUB FOR 0420104 AND AT201572

1шт.

3

0420105

Cylinder Head

SUB FOR AT201573

1шт.

4

0352704

Bushing

SUB FOR AT132283

1шт.

5

0133103

Snap Ring

SUB FOR AT127275

1шт.

6

AT132284

Ring

1шт.

7

AT132285

Seal

1шт.

8

AT132286

Back-Up Ring

1шт.

9

0460004

Ring

1шт.

10

AT191197

Ring

SUB FOR AT132288

1шт.

11

A811160

O-Ring

1шт.

12

AT264252

Back-Up Ring

SUB FOR AT132399

1шт.

13

0191412

Bolt

SUB FOR AT132295 OR AT217053

8шт.

14

0420106

Bearing

1шт.

15

0420113

Seal

1шт.

16

0420108

Piston

SUB FOR AT201576

1шт.

17

AT264253

Ring

SUB FOR AT132400

1шт.

18

AT264289

Ring

SUB FOR AT201577

2шт.

19

AT264248

Ring

SUB FOR AT132175

2шт.

20

0352713

Nut

SUB FOR AT132292

1шт.

21

0352714

Shim

SUB FOR AT132293

1шт.

22

R26552

Ball

7.938 mm (5/16")

1шт.

23

H228111

Set Screw

SUB FOR AT132294 OR 0352715

1шт.

25

AT201578

Ring

2шт.

27

0420111

Ring

SUB FOR AT201579 OR 4S00853

2шт.

44

J75481

Fitting

1шт.

57

19M8448

Screw

M12 X 35

4шт.

58

Pipe

ALSO ORDER 0942407 ALONG W/ 19M8 448, 0352717 NLA, SUB FOR AT13229 6 Units Built Before February 200 3

1шт.

0942407

Line

USE ALONG W/ 19M8448 Units B uilt February 2003 And After

1шт.

59

Pipe

ALSO ORDER 0420114 ALONG W/ 19M8 448, 0352718 NLA, SUB FOR AT13229 7 Units Built Before February 200 3

1шт.

0420114

Pipe

ALSO ORDER 19M8448 Units Bu ilt February 2003 And After

1шт.

60

M800636

Screw

M12 X 55 SUB FOR M341236 Uni ts Built Before February 2003

8шт.

19M8448

Screw

M12 X 35 Units Built F ebruary 2003 And After

8шт.

61

AT264348

O-Ring

SUB FOR TH102788

2шт.

63

0309219J

Half Clamp

SUB FOR 0309219 OR T108064

1шт.

64

19M7363

Cap Screw

M12 X 60 SUB FOR 0237417 OR 022411 5 Units Built Before February 2003

1шт.

19M8348

Cap Screw

M12 X 65 Units Built F ebruary 2003 And After

1шт.

65

12M7058

Lock Washer

12 mm SUB FOR TH102779

1шт.

66

Band

0352719 NLA, SUB FOR AT132298 Units Built Before February 2003

1шт.

0875612

Half Clamp

Units Built February 2003 And After

1шт.

67

0352720

Band

SUB FOR AT132299

1шт.

68

0352721

Band

SUB FOR AT132300

2шт.

69

0236915J

Half Clamp

SUB FOR TH102783 OR 0236915

2шт.

70

19M7291

Cap Screw

M14 X 90

1шт.

71

12H317

Lock Washer

9/16"

1шт.

72

19M7550

Cap Screw

M10 X 35 SUB FOR AT153924

4шт.

73

12M7066

Lock Washer

10 mm

4шт.

90

4340620

Seal Kit

SUB FOR AT196471, AT182708 OR AT191198

1шт.

Выбрано товаров: 52