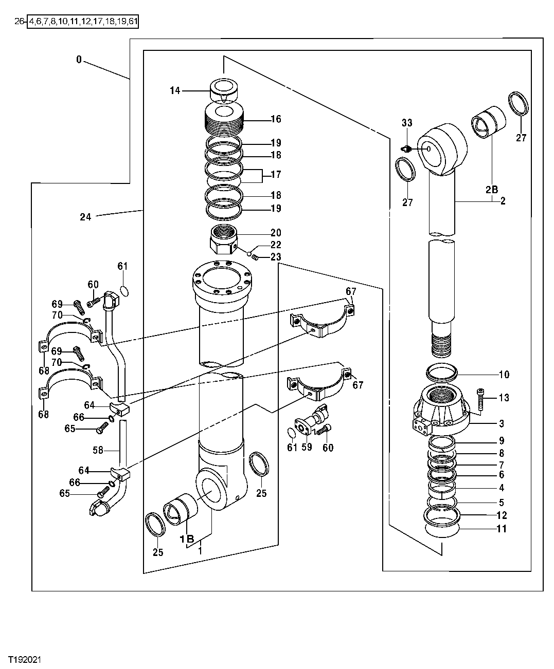
Запчасти John Deere 50LC 300 - Bucket Cylinder 3365 Hydraulic Cylinders

Схема запчастей John Deere 50LC - 300 - Bucket Cylinder 3365 Hydraulic Cylinders
FIT
1:1
100%

Артикул

Название

Примечание

Количество

0

4391716

Hydraulic Cylinder

120 mm Rod, SUB FOR 4391716EX REMAN For Use With Short Arm, Standard Arm Or Semi-Long Arm

1шт.

1

0704401

Hydraulic Cylinder Barrel

SUB FOR AT217065

1шт.

1B

4609091

Bushing

SUB FOR AT132309 OR 0352905

1шт.

2

0704402

Rod

120 mm Rod, SUB FOR AT217066

1шт.

2B

4660855

Bushing

SUB FOR AT202246 OR 0420102

1шт.

3

0704403

Hydr. Cylinder Rod Guide

SUB FOR AT217067

1шт.

4

AT264291

Bushing

SUB FOR AT217060 OR 0450506

1шт.

5

0133103

Snap Ring

SUB FOR AT127275

1шт.

6

AT264292

Ring

SUB FOR AT217061 OR 0450507 Units Built Before May 2005

1шт.

0450518

Ring

Units Built May 2005 and After

1шт.

7

T207118

Seal

SUB FOR TH104996, 4069711 OR AT2 64368 Units Built Before May 2005

1шт.

0972403

Packing

Units Built May 2005 and After

1шт.

8

AT264369

Back-Up Ring

SUB FOR TH104997

1шт.

9

0450508

Ring

SUB FOR AT217062

1шт.

10

AT264283

Ring

SUB FOR 0239504 OR 4438199 Units Built Before May 2005

1шт.

0450519

Ring

Units Built May 2005 and After

1шт.

11

A811160

O-Ring

SUB FOR AT132154, THIS APPLICATION

1шт.

12

AT264252

Back-Up Ring

SUB FOR AT132399

1шт.

13

0191412

Bolt

SUB FOR AT217053

8шт.

14

0704404

Bearing

SUB FOR AT217068

1шт.

16

0704405

Piston

SUB FOR AT217069

1шт.

17

AT264253

Ring

SUB FOR AT132400

1шт.

18

AT264289

Ring

SUB FOR AT201577

2шт.

19

AT264248

Ring

SUB FOR AT132175

2шт.

20

0443902

Nut

SUB FOR AT217059

1шт.

22

0353011

Ball

SUB FOR AT132320

1шт.

23

0353012

Set Screw

SUB FOR AT132321

1шт.

25

0420403

Ring

SUB FOR AT201589 OR 4S00854

2шт.

26

AT314427

Hydraulic Cylinder Kit

Seal Kit Use Until Exhausted AT264435 NLA

1шт.

27

AT201578

Ring

2шт.

33

TH100074

Lubrication Fitting

1шт.

58

4S00349

Line

SUB FOR AT201590

1шт.

59

4S00350

Line

SUB FOR AT201591

1шт.

60

19M8395

Screw

M12 X 40

8шт.

61

AT264348

O-Ring

SUB FOR TH102788

2шт.

64

0309219J

Half Clamp

SUB FOR 0309219 OR T108064

2шт.

65

19M7363

Cap Screw

M12 X 60

2шт.

66

12M7058

Lock Washer

12 mm SUB FOR 12M7067

2шт.

67

Band

0352719 NLA, SUB FOR AT132298

2шт.

0875612

Half Clamp

2шт.

68

0352721

Band

SUB FOR AT132300

2шт.

69

19M7550

Cap Screw

M10 X 35 SUB FOR AT153924

4шт.

70

12M7066

Lock Washer

10 mm

4шт.

71

FXB00005101

Seal Kit

SUB FOR 4653042 AND 4S00959 Not Illustrated

1шт.

Seal Kit

4S00959 NLA

1шт.

Выбрано товаров: 0