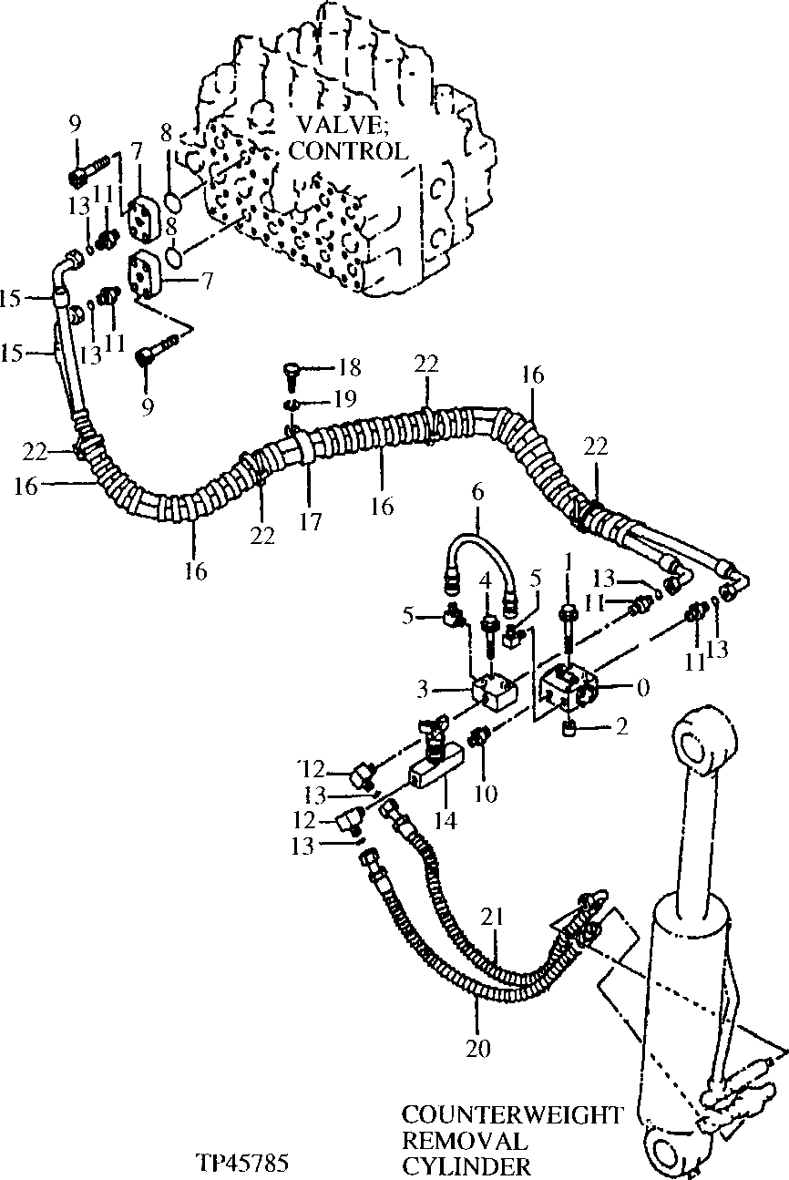
Запчасти John Deere 50LC 305 - COUNTERWEIGHT REMOVAL HIGH PRESSURE PIPINGS 3365 Hydraulic Cylinders

Схема запчастей John Deere 50LC - 305 - COUNTERWEIGHT REMOVAL HIGH PRESSURE PIPINGS 3365 Hydraulic Cylinders
FIT
1:1
100%

Артикул

Название

Примечание

Количество

0

4240863

Flow Control Hyd. Valve

(SUB FOR AT132548)

1шт.

1

19M7875

Cap Screw

M10 X 70

2шт.

12M7066

Lock Washer

10 mm

2шт.

2

4131346

Spacer

10.900 X 17.300 X 16 mm (0.429" X 0.681" X 0.630") (SUB FOR AT132491)

2шт.

3

4240862

Manifold

(SUB FOR AT132547)

1шт.

4

19M8655

Cap Screw

M10 X 55

2шт.

12M7066

Lock Washer

10 mm

2шт.

5

4154656

Elbow Fitting

(SUB FOR TH101588)

2шт.

6

AT126482

Hydraulic Hose

11.1252" X 500 mm (19-3/4") X 11.1252"

1шт.

7

4240861

Flange

(SUB FOR AT132546)

2шт.

8

T72216

O-Ring

37.694 X 3.531 mm (1-31/64" X 0.139")

2шт.

9

19M8734

Screw

M14 X 45

8шт.

10

94-1703

Adapter Fitting

(SUB FOR TH101976)

1шт.

11

4210942

Adapter Fitting

(SUB FOR AT131868)

4шт.

12

4274178

Elbow Fitting

(SUB FOR AT170146)

2шт.

13

T77857

O-Ring

12.421 X 1.778 mm (0.489" X 0.070")

6шт.

14

4220806

Flow Control Hyd. Valve

(SUB FOR AT128495)

1шт.

15

4331745

Hydraulic Hose

(SUB FOR AT170149)

2шт.

16

Hose Guard

(MF XHG-075 CTL) (SUB FO R AT138222) Bulk Material

4шт.

17

R50454

Clamp

(SUB FOR TH109445 OR 4192034)

1шт.

18

19M8324

Cap Screw

M10 X 16

1шт.

19

12M7066

Lock Washer

10 mm

1шт.

20

4343812

Hydraulic Hose

(SUB FOR AT170150)

1шт.

21

4343813

Hydraulic Hose

(SUB FOR AT170151)

1шт.

22

H77698

Tie Band

4шт.

30

Counterweight

( AT169021 NLA, SUB AT196481) (WHOLEGO ODS) (REMOVAL SYSTEM) (NOT ILLUSTRATED) (CONTAINS ALL ITEMS ON THIS PAGE - ADD ITIONAL COMPONENTS LISTED ON OTHER PAGE S)

1шт.

Выбрано товаров: 26