Запчасти John Deere 50LC 22 - Rocker Arm Shaft, Push Rods and Rocker Arms 0402 Camshaft And Valve Actuating Means 6101AT010 6101AT010

Схема запчастей John Deere 50LC - 22 - Rocker Arm Shaft, Push Rods and Rocker Arms 0402 Camshaft And Valve Actuating Means 6101AT010 6101AT010
FIT
1:1
100%

Артикул

Название

Примечание

Количество

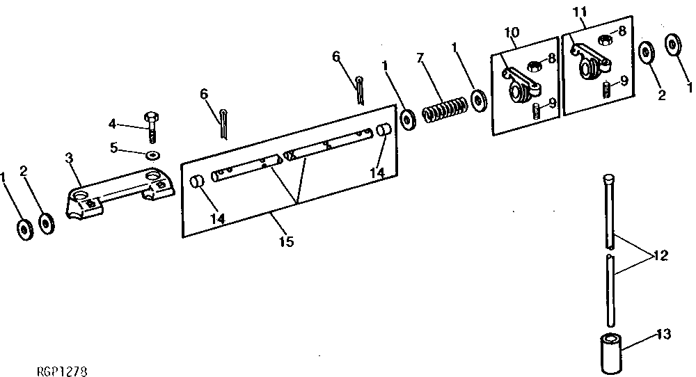
1

R61266

Washer

12шт.

2

R35022

Washer

2шт.

3

R57276

Clamp

3шт.

4

R56957

Bolt

6шт.

5

T20168

Washer

6шт.

6

11H229

Cotter Pin

3/32" X 2"

2шт.

7

R35020

Spring

5шт.

8

14H1080

Nut

3/8"

12шт.

9

R27443

Set Screw

12шт.

10

AR69901

Arm

(A) (1E, 2I, 3E, 4I, 5E, 6I) (RH)

6шт.

11

AR69902

Arm

(A) (1I, 2E, 3I, 4E, 5I, 6E) (LH)

6шт.

12

AR53087

Push Rod

12шт.

13

AR41291

Cam Follower

12шт.

14

R35019

Plug

2шт.

15

AR92514

Rocker Arm Shaft

1шт.

Выбрано товаров: 15