Запчасти John Deere 50LC 24 - Rocker Arm Cover 0402 Camshaft And Valve Actuating Means 6101AT010 6101AT010

Схема запчастей John Deere 50LC - 24 - Rocker Arm Cover 0402 Camshaft And Valve Actuating Means 6101AT010 6101AT010
FIT
1:1
100%

Артикул

Название

Примечание

Количество

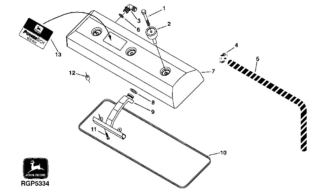
1

19M7803

Screw

M8 X 70 (SUB FOR CH19100 OR AT211859)

3шт.

2

RE71265

Isolator

3шт.

3

R120467

Elbow Fitting

1шт.

4

TY22467

Clamp

1шт.

5

TY22450

Bulk Hose

ARшт.

6

R72328

O-Ring

(NLR)

1шт.

7

R116843

Valve Cover

1шт.

8

R63185

O-Ring

1шт.

9

RE66329

Deflector

1шт.

10

R505677

Gasket

(SUB FOR R130738)

1шт.

11

R130091

Screw

M6 X 12

2шт.

12

R501292

Grommet

(SUB FOR R127451)

2шт.

13

R132985

Medallion

1шт.

Выбрано товаров: 13