Запчасти John Deere 50LC 35 - Oil Pan 0407 Engine Oiling System 6101AT010 6101AT010

Схема запчастей John Deere 50LC - 35 - Oil Pan 0407 Engine Oiling System 6101AT010 6101AT010
FIT
1:1
100%

Артикул

Название

Примечание

Количество

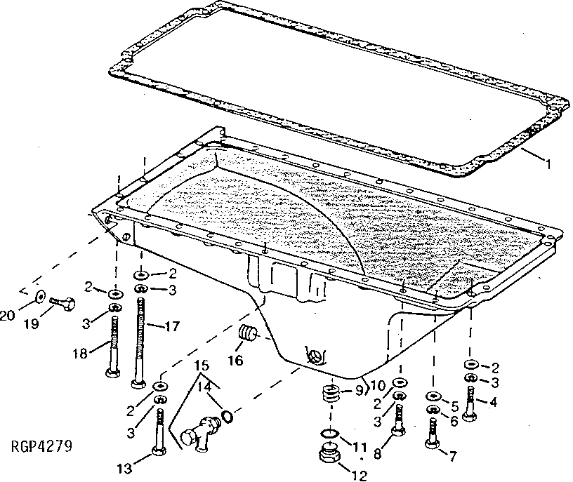
1

RE509291

Gasket

(THICK) (SUB FOR R64828)

1шт.

2

24H1305

Washer

13/32" X 13/16" X 0.065"

28шт.

3

12H304

Lock Washer

3/8"

28шт.

4

19H3485

Cap Screw

3/8" X 2"

2шт.

5

24H1756

Washer

1/2" X 1" X 0.060"

2шт.

6

12H301

Lock Washer

1/2"

2шт.

7

19H2473

Cap Screw

1/2" X 1-3/4"

2шт.

8

19H3267

Cap Screw

3/8" X 1-5/8"

20шт.

9

R79480

Insert

(OIL PAN INSERT)

NAшт.

10

R108983

Oil Pan

1шт.

11

A4827R

Washer

1шт.

12

R26727

Drain Plug

1шт.

13

19H3565

Cap Screw

3/8" X 6-1/8" (GR. G)

2шт.

14

R47151

O-Ring

1шт.

15

AT152180

Drain Valve

1шт.

16

RE57836

Pipe Plug

12.700 mm (1/2") (SUB FOR 15H624)

1шт.

17

R121240

Cap Screw

2шт.

18

19H3563

Cap Screw

3/8" X 6-5/8"

2шт.

19

19H2431

Cap Screw

3/4" X 2-1/4" (SUB FOR 19H1782)

6шт.

20

R78019

Washer

6шт.

Выбрано товаров: 20