Запчасти John Deere 50LC 42 - Fuel Injection Nozzles / Fuel Lines 0413 Fuel Injection System 6101AT010 6101AT010

Схема запчастей John Deere 50LC - 42 - Fuel Injection Nozzles / Fuel Lines 0413 Fuel Injection System 6101AT010 6101AT010
FIT
1:1
100%

Артикул

Название

Примечание

Количество

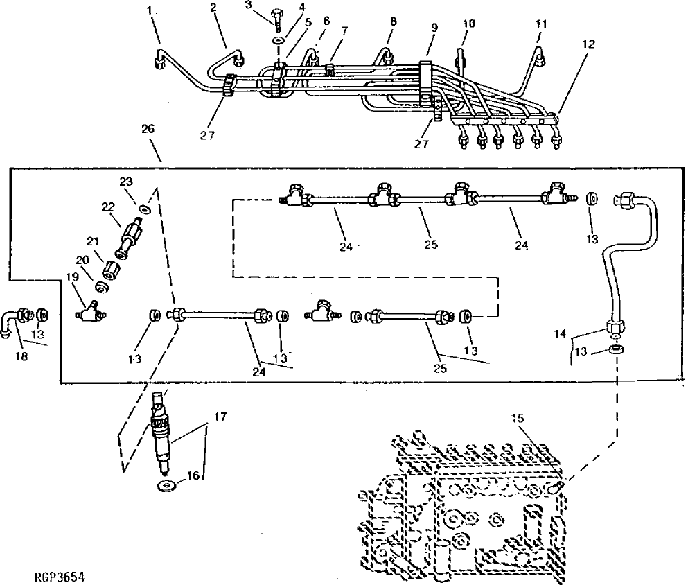
1

RE47721

Fuel Line

NO. 6

1шт.

2

RE47720

Fuel Line

NO. 5

1шт.

3

19H1849

Cap Screw

5/16" X 1-1/4"

2шт.

4

12H303

Lock Washer

5/16"

2шт.

5

R67197

Strap

1шт.

R67195

Strap

1шт.

R67196

Clamp

2шт.

6

RE47719

Fuel Line

NO. 4

1шт.

7

R61144

Strap

1шт.

R58186

Clamp

2шт.

R59305

Strap

1шт.

12M7060

Washer

5.300 mm

1шт.

AR76704

Screw

1шт.

8

RE47718

Fuel Line

NO. 3

1шт.

9

R74660

Absorber

Inner

1шт.

R74661

Absorber

Outer

1шт.

10

RE47717

Fuel Line

NO. 2

1шт.

11

RE47716

Fuel Line

NO. 1

1шт.

12

R58189

Clamp

1шт.

R58188

Clamp

1шт.

R59301

Reinforcement

1шт.

12M7060

Washer

5.300 mm

5шт.

AR76704

Screw

5шт.

13

R51936

Sealing Washer

13шт.

14

RE42283

Fuel Line

1шт.

15

R67364

Elbow Fitting

1шт.

16

R84472

Washer

6шт.

17

RE65467

Nozzle Holder

(BOSCH 0432131723) (ALSO ORDER R84472)

6шт.

SE500186

Injection Nozzle Reman

(PKG OF 6) (REMAN FOR RE654 67) (ALSO ORDER (6) R84472)

1шт.

SE501127

Injection Nozzle Reman

(PKG OF 1) (REMAN FOR RE6 5467) (ALSO ORDER R84472)

6шт.

18

AR104650

Fuel Line

1шт.

19

R79606

Tee Fitting

6шт.

20

R79605

Washer

6шт.

21

R79604

Tube Nut

6шт.

22

R89175

Fitting

(ALSO ORDER R77551)

6шт.

23

R77551

O-Ring

6шт.

24

RE11926

Fuel Line

3шт.

25

RE11927

Fuel Line

2шт.

26

RE11929

Fuel Line

1шт.

27

R61145

Strap

1шт.

R59297

Half Clamp

2шт.

R59298

Strap

1шт.

12M7060

Washer

5.300 mm

2шт.

AR76704

Screw

2шт.

Выбрано товаров: 44