Качественные детали и логистика
Оригинальные и аналоговые запчасти с доставкой по России, Казахстану и Беларуси
©2022 PartSell ООО "Система" ИНН 2463123282 ОГРН 1212400004838
Центральный офис: г. Красноярск, Академика Киренского, д.87, пом.4
Телефон: 8 (800) 777-65-74 Email: zakaz@partsell.ru
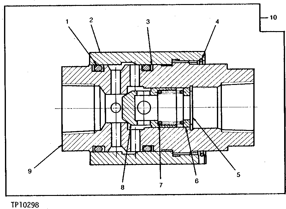
4 - ARM SLOW RETURN VALVE
№
Артикул
Название
Примечание
Количество
1
957474
O-RING
(SUB FOR TH100856) (SUB FOR TH102706)
2шт.
2
HOUSING
(SUB TH100852)
1шт.
3
4079356
BACK-UP RING
(SUB FOR TH100857)
4
4077176
RING
(SUB FOR TH100855)
5
40M1852
SNAP RING
(SUB FOR TH100850)
6
4077175
RETAINER
(SUB FOR TH100849)
7
4077174
SPRING
(SUB FOR TH100848)
8
4077173
PISTON
(SUB FOR TH100847)
9
10
9023408
FLOW CONTROL HYD. VALVE
(SUB FOR TH100852)
Выбрано товаров: 0