Запчасти John Deere 90 2 - SWING DRIVE 4360 - SWING, ROTATION OR PIVOTING SYSTEM 43

Схема запчастей John Deere 90 - 2 - SWING DRIVE 4360 - SWING, ROTATION OR PIVOTING SYSTEM 43
FIT
1:1
100%

Артикул

Название

Примечание

Количество

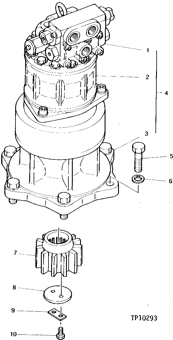
1

4149122

VALVE

(SUB FOR TH100232) SWING LOCK

1шт.

2

4149124

HYDRAULIC MOTOR

(REMANUFACTURED) (SUB FOR TH100202, AT217310)

1шт.

19M7286

CAP SCREW

(SUB FOR TH101604)

4шт.

3

4149123

GEAR CASE

(SUB FOR TH100177)

1шт.

4

DRIVE

( TH100331 NO LONGER AVAILABLE)

1шт.

5

19M8638

CAP SCREW

M20 X 65, (SUB FOR 19M8102)

6шт.

6

N231749

WASHER

20.620 X 38.100 X 6.350 MM (0.812" X 1-1/2" X 1/4") (SUB FOR TH102927 OR T33089)

6шт.

7

3024580

GEAR

(SUB FOR TH100332)

1шт.

8

4144722

LOCK PLATE

(SUB FOR TH100334)

1шт.

9

4144723

LOCK WASHER

(SUB FOR TH100335)

1шт.

10

19M7877

CAP SCREW

M14 X 30

2шт.

Выбрано товаров: 11