Запчасти John Deere 90 6 - TRACK SHOES 130 - TRACKS 1

Схема запчастей John Deere 90 - 6 - TRACK SHOES 130 - TRACKS 1
FIT
1:1
100%

Артикул

Название

Примечание

Количество

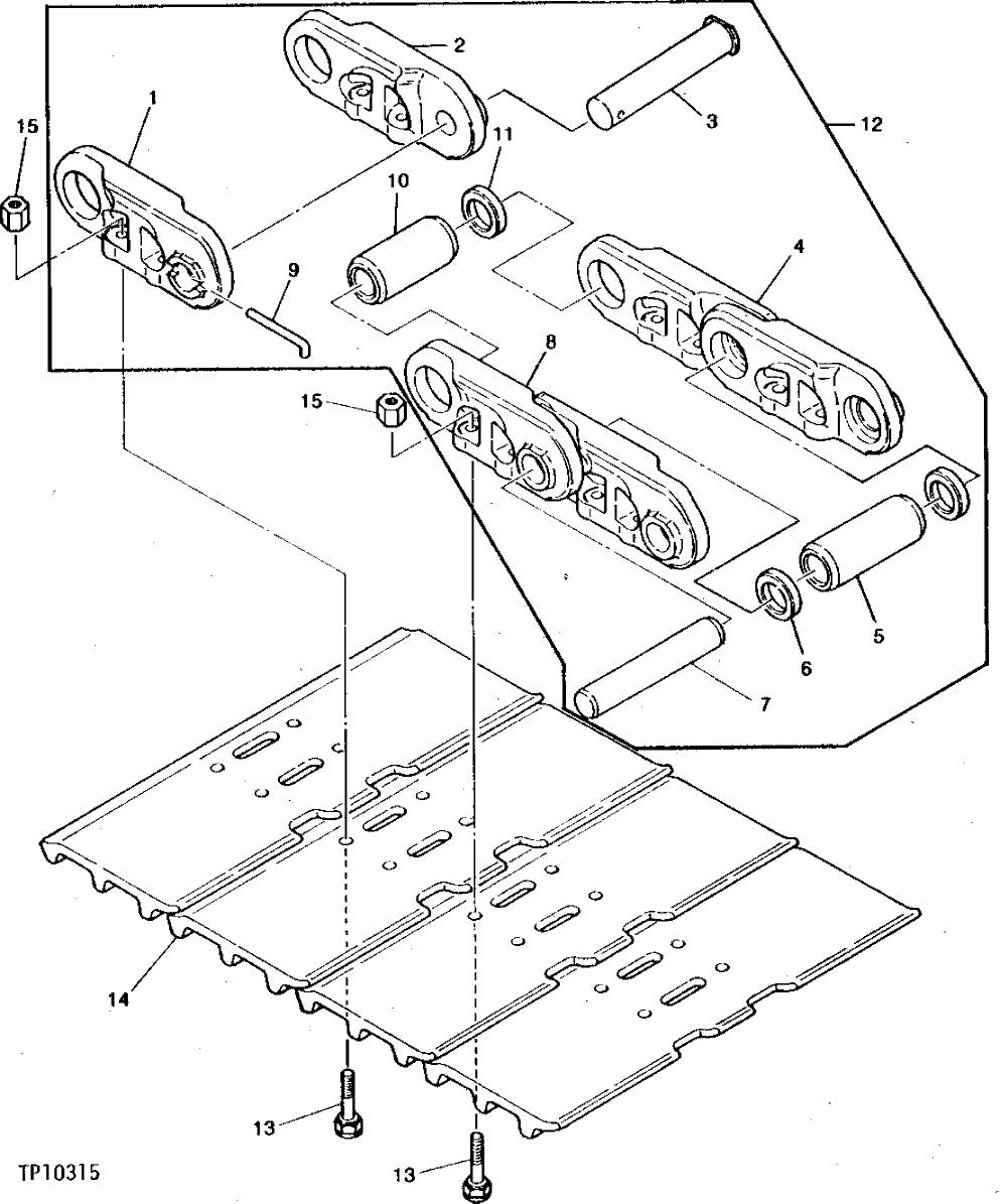
1

MASTER TRACK LINK

( TH100396 NO LONGER AVAILABLE) (SUB 1010120, AT128412, TH100397, AT173247, TH108898 AND TH108899)

1шт.

MASTER TRACK LINK

( TH103458 NO LONGER AVAILABLE) (SUB 1010120, AT128412, TH100397, AT173247, TH108898 AND TH108899)

1шт.

2

MASTER TRACK LINK

( 3029282 NO LONGER AVAILABLE) (SUB 1010120, AT128412, TH100397, AT173247, TH108898 AND TH108899)

1шт.

3

4150285

PIN FASTENER

(SUB FOR TH101374) MASTER

1шт.

4157878

PIN FASTENER

(SUB FOR TH103459) MASTER

1шт.

4

1010120

STRUTTED LINK-LH

(SUB FOR TH101371) (SUB FOR TH108894)

42шт.

5

BUSHING

(SUB AT128414 AND (2) 4347208) ( TH101372 NO LONGER AVAILBLE)

42шт.

6

4347208

SEAL

(SUB FOR TH101373, 4192571 OR AT173245)

84шт.

7

AT173246

PIN

(SUB FOR TH100391 OR TH108896)

42шт.

8

1010119

STRUTTED LINK-RH

(SUB FOR TH101370) (SUB FOR TH108893)

42шт.

9

4098449

PIN FASTENER

(SUB FOR TH100394)

1шт.

4145374

PIN

(SUB FOR TH102373)

1шт.

10

TH100397

BUSHING

MASTER

1шт.

11

SPACER

( 4510917 NO LONGER AVAILABLE) (SUB 1010120, AT128412, TH100397, AT173247, TH108898 AND TH108899) MASTER

2шт.

12

AT128409

TRACK CHAIN W/O SHOES

(SUB FOR TH101369) (SUB AT156494, AT156494AM OR AT128409 WHICHEVER IS CURRENTLY MOST ECONOMICAL) (REMOVE LINKS TO CORRECT LENGTH)

1шт.

13

4254888

BOLT

(SUB FOR TH100398, ALONG WITH AT180443)

172шт.

14

2024425

OPEN CENTER 3 BAR SHOE

(SUB FOR TH108986) 700 MM (SUB FOR 710MM SHOE - TH101375)

43шт.

2037093

OPEN CENTER 3 BAR SHOE

(SUB FOR TH100400 AND 2019235) 500 MM (20")

43шт.

15

4122664

NUT

(SUB FOR TH100399) (USE WITH TH100398)

172шт.

AT180443

NUT

M16, (USE WITH 4254888)

172шт.

Выбрано товаров: 20