Качественные детали и логистика
Оригинальные и аналоговые запчасти с доставкой по России, Казахстану и Беларуси
©2022 PartSell ООО "Система" ИНН 2463123282 ОГРН 1212400004838
Центральный офис: г. Красноярск, Академика Киренского, д.87, пом.4
Телефон: 8 (800) 777-65-74 Email: zakaz@partsell.ru
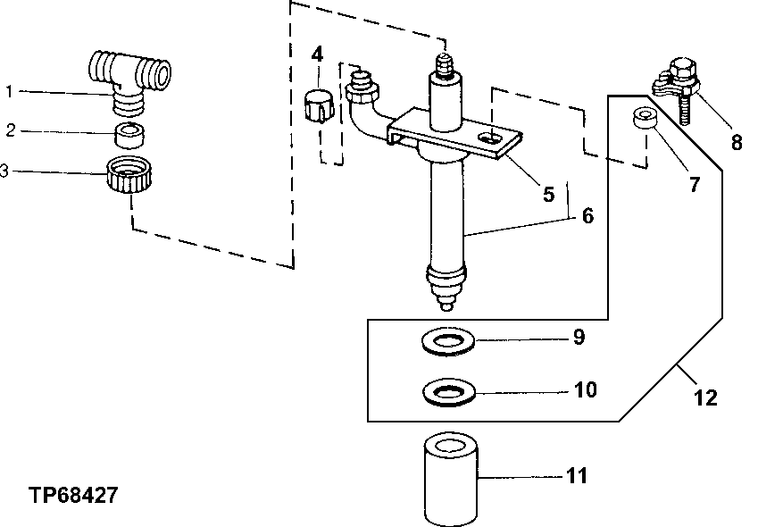
1A - REPLACEMENT FUEL INJECTION NOZZLE
№
Артикул
Название
Примечание
Количество
1
R79606
TEE FITTING
1шт.
2
R79605
WASHER
3
R79604
TUBE NUT
4
CAP (HAT)
( T31174 NO LONGER AVAILABLE) (USE FOR SERVICING NOZZLE)
5
R67779
CLAMP
6
RE37503
INJECTION NOZZLE
(STANADYNE NO. 26993 )
SE500824
NOZZLE
(REMANUFACTURED)
7
RE32011
O-RING KIT
(SUB FOR R92351)
8
R34760
WITH SCREW AND WASHER
9
R92352
PACKING
10
R48000
SEAL
11
T24472
CAP
(USE FOR SERVICING NOZZLE)
12
Выбрано товаров: 0