Запчасти John Deere 90 2 - FUEL TANK 560 - ENGINE AUXILIARY SYSTEMS 5

Схема запчастей John Deere 90 - 2 - FUEL TANK 560 - ENGINE AUXILIARY SYSTEMS 5
FIT
1:1
100%

Артикул

Название

Примечание

Количество

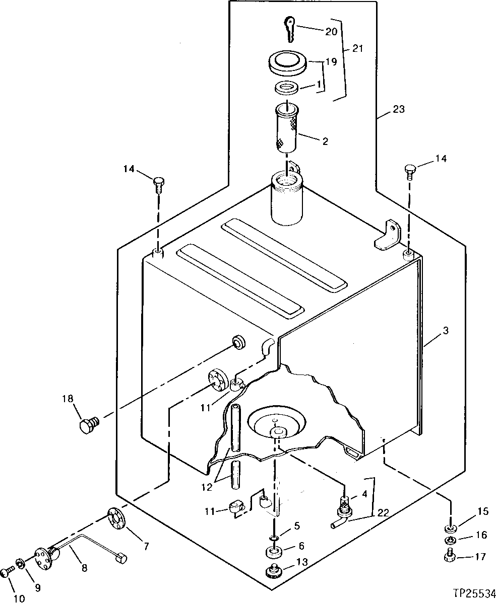
1

4168820

PACKING

(SUB FOR TH103384)

1шт.

2

4121496

FUEL FILTER

(SUB FOR TH100509)

1шт.

3

FUEL TANK

(SUB TH100506)

1шт.

4

4194155

STRAINER

(SUB FOR TH107037)

1шт.

5

453143

PACKING

(SUB FOR TH100514)

1шт.

6

CH10570

PACKING

(SUB FOR TH100513)

1шт.

7

L29265

GASKET

1шт.

8

4129138

FLOAT

(SUB FOR TH100516)

1шт.

9

12M7064

LOCK WASHER

5 MM, (SUB FOR TH100519)

5шт.

10

21M7278

SCREW

M5 X 10

5шт.

11

4121442

HOSE CLAMP

(SUB FOR TH100511)

2шт.

12

BULK HOSE

(SUB FOR TH100510) ( 4121444 NO LONGER AVAILABLE FOR SERVICE) (FURNISH TY22552 BULK MATERIAL CUT TO 593 MM LENGTH)

1шт.

13

453142

DRAIN PLUG

(SUB FOR TH100515)

1шт.

14

19M8231

CAP SCREW

M12 X 16, (SUB FOR TH100522)

2шт.

15

24M7053

WASHER

17 X 30 X 3 MM, (SUB FOR TH100520)

4шт.

16

12H294

LOCK WASHER

5/8", (SUB FOR TH100466)

4шт.

17

19M8029

CAP SCREW

M16 X 30

4шт.

18

94-2024

FITTING PLUG

(SUB FOR TH101292)

1шт.

19

CAP

(SUB TH110091)

1шт.

20

4158653

KEY

(SUB FOR TH101605)

1шт.

21

4208964

FILLER CAP

(SUB FOR TH101776) (SUB FOR TH110091)

1шт.

22

4194154

FUEL FILTER

(SUB FOR TH100512) (SUB FOR TH107036)

1шт.

23

9045483

FUEL TANK

(SUB FOR TH100506)

1шт.

Выбрано товаров: 23