Запчасти John Deere 90 2 - CAB 1810 - OPERATORS STATION 18

Схема запчастей John Deere 90 - 2 - CAB 1810 - OPERATORS STATION 18
FIT
1:1
100%

Артикул

Название

Примечание

Количество

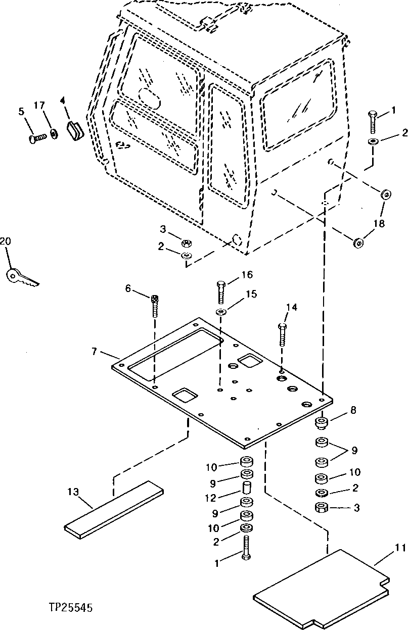
1

4136792

BOLT

(SUB FOR TH101104)

4шт.

2

4114405

WASHER

(SUB FOR TH101105)

8шт.

3

14M7328

LOCK NUT

M16

4шт.

4

4298985

ASHTRAY

(SUB FOR TH101096)

1шт.

5

21M7278

SCREW

M5 X 10

2шт.

6

19M8440

SCREW

M10 X 25, (SUB FOR TH101108)

2шт.

7

7012462

PLATE

(SUB FOR TH101097)

1шт.

8

9717690

STOP

(SUB FOR TH101107)

1шт.

9

4155132

ISOLATOR

(SUB FOR TH101102)

8шт.

10

4086007

STOP

(SUB FOR TH101101)

7шт.

11

3025857

ACOUSTICAL UPHOLSTERY

(SUB FOR TH101099)

1шт.

12

9717690

STOP

(SUB FOR W22683) (SUB FOR TH101107)

3шт.

13

3025858

ACOUSTICAL UPHOLSTERY

(SUB FOR TH101100)

1шт.

14

19M7402

CAP SCREW

M10 X 25

2шт.

15

12M7066

LOCK WASHER

10 MM, (SUB FOR TH100417)

4шт.

16

19M7938

CAP SCREW

M10 X 20

4шт.

17

24M7027

WASHER

5.300 X 10 X 1 MM, (SUB FOR TH100540)

2шт.

18

4146754

ISOLATOR

(SUB FOR TH100572)

2шт.

20

4158653

KEY

(SUB FOR TH101605) CAB AND SERVICE DOOR

1шт.

21

4162151

EYEBOLT

(SUB FOR TH101609) (NOT ILLUSTRATED)

4шт.

Выбрано товаров: 20