Запчасти John Deere 90D 2 - AIR CLEANER, PIPING AND BRACKET 520 - ENGINE AUXILIARY SYSTEMS 5

Схема запчастей John Deere 90D - 2 - AIR CLEANER, PIPING AND BRACKET 520 - ENGINE AUXILIARY SYSTEMS 5
FIT
1:1
100%

Артикул

Название

Примечание

Количество

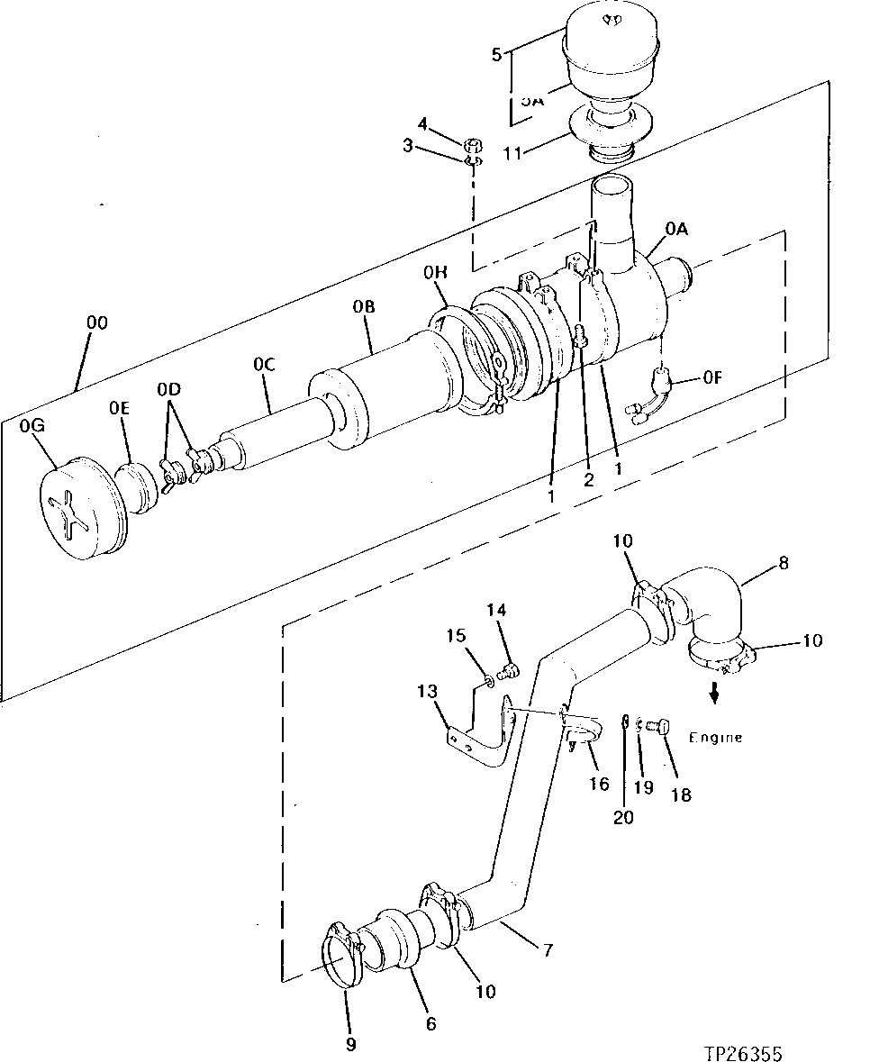
0

AIR CLEANER

( AT130712 NO LONGER AVAILABLE)

1шт.

0A

4189197

HOUSING

(SUB FOR TH106444)

1шт.

0B

CH18287

FILTER ELEMENT

(SUB FOR TH106445) PRIMARY

1шт.

0C

CH18289

FILTER ELEMENT

(SUB FOR TH106446) SECONDARY

1шт.

0D

AH20849

WING NUT

(SUB FOR TH106447)

2шт.

0E

AH20858

ISOLATOR

(SUB FOR TH106448)

1шт.

0F

4224238

INDICATOR

(SUB FOR TH108915) (SUB FOR AT131922)

1шт.

0G

AH20852

HOUSING

(SUB FOR TH106449)

1шт.

0H

AH20855

CLAMP

(SUB FOR AR27854)

1шт.

1

AN31656

CLAMP

(SUB FOR TH106452)

2шт.

2

19M7932

CAP SCREW

M8 X 16

4шт.

3

12M7056

LOCK WASHER

8 MM, (SUB FOR 12M7065)

4шт.

4

14M7273

NUT

M8

4шт.

5

984206

PRECLEANER

(SUB FOR TH108241) PRE-CLEANER

1шт.

5A

R28794

DUST BOWL

(SUB FOR TH108242) DUST COOLECTOR

1шт.

6

H152403

HOSE

(SUB FOR AT130672 OR 4215718)

1шт.

7

9727993

LINE

(SUB FOR TH108243)

1шт.

8

HOSE

(SUB FOR TH108244) ( 4203694 NOT AVAILABLE FOR SERVICE) (FURNISH T196726 BULK MATERIAL CUT TO LENGTH)

1шт.

9

AT43291

HOSE CLAMP

(SUB FOR TH106163)

1шт.

10

TY22488

HOSE CLAMP

(SUB FOR TH106162 OR AT39141, THIS APPLICATION) (SUB FOR AH104837)

3шт.

11

4338147

COVER

(SUB FOR TH107988) (SUB FOR AT165857)

1шт.

13

4205616

BRACKET

(SUB FOR TH108245)

1шт.

14

19M8011

CAP SCREW

M12 X 30

2шт.

15

12M7058

LOCK WASHER

12 MM, (SUB FOR 12M7067)

2шт.

16

4037694

CLAMP

(SUB FOR TH106457)

1шт.

18

19M7932

CAP SCREW

M8 X 16

2шт.

19

12M7056

LOCK WASHER

8 MM, (SUB FOR 12M7065)

2шт.

20

24M7055

WASHER

8.400 X 16 X 1.600 MM

2шт.

Выбрано товаров: 28