Запчасти John Deere 90D 2 - ELECTRICAL COMPONENTS 1674 - ELECTRICAL SYSTEMS 16

Схема запчастей John Deere 90D - 2 - ELECTRICAL COMPONENTS 1674 - ELECTRICAL SYSTEMS 16
FIT
1:1
100%

Артикул

Название

Примечание

Количество

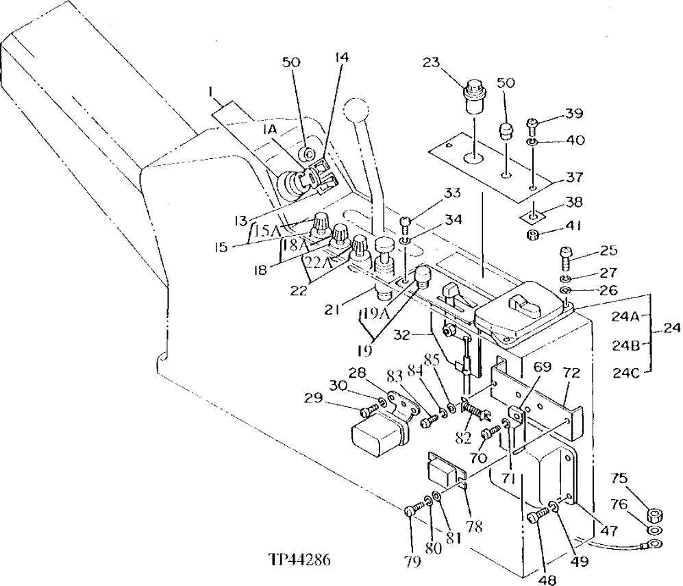
1

4237505

SWITCH

(SUB FOR TH108551 OR 4186744) START

1шт.

1A

AT194969

KEY

START SWITCH, (SUB FOR TH108552 AND AT147803)

1шт.

13

4187088

SWITCH

(SUB FOR TH108553) TRAVEL SPEED

1шт.

14

4187089

SWITCH

(SUB FOR TH108554) AUTOMATIC FUEL CONTROL

1шт.

15

4201802

SWITCH

(SUB FOR TH108555) MODE

1шт.

15A

4268742

KNOB

(SUB FOR AT130798)

1шт.

18

4184396

SWITCH

(SUB FOR TH108556) LIGHT

1шт.

18A

4268740

KNOB

(SUB FOR AT130799)

1шт.

19

4184397

SWITCH

(SUB FOR TH108557) BLOWER

1шт.

19A

4268750

KNOB

(SUB FOR AT130800)

1шт.

21

AR60937

ELECTRICAL LIGHTER

(SUB FOR TH108558) (ALSO ORDER AT78633, AT78634 AND AU42809) (12 VOLT)

1шт.

AU42809

RESISTOR

(12 VOLT)

1шт.

AT78634

WIRING LEAD

(12 VOLT)

1шт.

AU42809

RESISTOR

(12 VOLT)

1шт.

ELECTRICAL LIGHTER

(SUB FOR AT190190) (24 VOLT) ( 4357862 NO LONGER AVAILABLE)

1шт.

22

4184398

SWITCH

(SUB FOR TH108559) WIPER

1шт.

22A

4268741

KNOB

(SUB FOR AT130801)

1шт.

23

4155755

SWITCH

(SUB FOR TH101582) (ETHER AID)

1шт.

24

4205437

FUSE BOX

(SUB FOR TH108560)

1шт.

24A

AT58169

FUSE

1 AMP

3шт.

24B

AT28077

FUSE

10 AMP

9шт.

24C

AT39227

FUSE

15 AMP

5шт.

25

21M7277

SCREW

M6 X 25, (SUB FOR TH103469)

2шт.

26

24M7054

WASHER

6.400 X 12 X 1.600 MM, (SUB FOR TH100584)

2шт.

27

12M7006

LOCK WASHER

6 MM, (SUB FOR TH103470)

2шт.

28

4505392

RELAY

(SUB FOR TH100585) HORN

1шт.

29

21M7288

SCREW

M6 X 10, (SUB FOR TH100547)

2шт.

30

12M7006

LOCK WASHER

6 MM

2шт.

32

4456566

CONTROL

HEATER, (SUB FOR 4189169, ALSO ORDER 4248908)

1шт.

4248908

CABLE

(SUB FOR AT194604)

1шт.

33

21M7396

SCREW

M4 X 10

4шт.

34

12H315

LOCK WASHER

4.166 MM, (SUB FOR 12M7063)

4шт.

37

4200522

PLATE

(SUB FOR TH108564)

1шт.

38

4200521

PLATE

(SUB FOR TH108565)

2шт.

39

21M7455

SCREW

M6 X 20, (SUB FOR 21M7085)

2шт.

40

12M7006

LOCK WASHER

6 MM

2шт.

41

14M7272

NUT

M6

2шт.

47

9067007

CONTROL

(SUB FOR TH108566)

1шт.

48

21M7288

SCREW

M6 X 10, (SUB FOR TH100547)

4шт.

49

12M7006

LOCK WASHER

6 MM

4шт.

50

4146754

BUMPER

(SUB FOR TH100572)

2шт.

69

4205029

RELAY

(SUB FOR TH108573) (UNIT CONTROL)

1шт.

70

21M7288

SCREW

M6 X 10, (SUB FOR TH100547)

1шт.

71

12M7006

LOCK WASHER

6 MM

1шт.

72

4200514

BRACKET

(SUB FOR TH108574) (DRILL FOUR ADDITIONAL HOLES IN BRACKET FOR 493D)

1шт.

75

14M7274

NUT

M10

1шт.

76

24M7028

WASHER

10.500 X 20 X 2 MM

1шт.

78

AT85258

RELAY

(24 VOLT STARTER) (SUB AT145341) (ALSO ORDER (2) T28583 AND (2) 14M7165)

1шт.

AT145341

RELAY

(ALSO ORDER (2) T28583) (STARTER)

1шт.

14M7165

LOCK NUT

M6, (STARTER RELAY TERMINALS)

2шт.

79

21M7267

SCREW

M6 X 20, (SUB FOR TH101584)

2шт.

80

12M7006

LOCK WASHER

6 MM

2шт.

81

24M7054

WASHER

6.400 X 12 X 1.600 MM

2шт.

82

4155754

RESISTOR

(SUB FOR TH101583)

1шт.

83

21M7394

SCREW

M3 X 10

2шт.

84

12H233

LOCK WASHER

3.175 MM, (SUB FOR 12M7048)

2шт.

85

24M7029

SHIM

0.500 MM

2шт.

Выбрано товаров: 57