Запчасти John Deere 90D 4 - ELECTRICAL COMPONENTS 1674 - ELECTRICAL SYSTEMS 16

Схема запчастей John Deere 90D - 4 - ELECTRICAL COMPONENTS 1674 - ELECTRICAL SYSTEMS 16
FIT
1:1
100%

Артикул

Название

Примечание

Количество

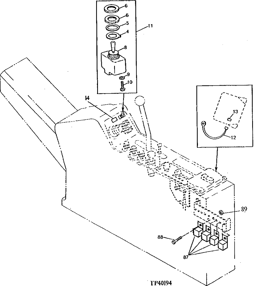
4

R44096

LOCK PLATE

1шт.

5

12H292

LOCK WASHER

1/2"

1шт.

6

R44097

NUT

11.913 MM (15/32")

2шт.

8

SWITCH

(SUB AT60247)

1шт.

9

12H321

WASHER

0.138"

6шт.

10

21H1309

SCREW

0.138" X 1/4"

6шт.

11

AT60247

SWITCH

(INTERMITTENT SAW ONLY)

1шт.

12

AT130843

WIRING LEAD

(BETWEEN HOT SIDE OF H FUSE TO N FUSE)

1шт.

13

AT28061

FUSE

5 AMP, ("N" POSITION)

1шт.

14

T124340

LABEL

(SAW GRAB ARM MODE SWITCH) (INTERMITTENT DUTY SAW HEAD) (SUB FOR AT108576, ALONG WITH T124341)

1шт.

87

AT77726

RELAY

4шт.

88

14M7303

FLANGE NUT

M6

4шт.

89

19M7775

SCREW

M6 X 16

4шт.

Выбрано товаров: 0