Запчасти John Deere 90D 6 - ELECTRICAL COMPONENTS 1674 - ELECTRICAL SYSTEMS 16

Схема запчастей John Deere 90D - 6 - ELECTRICAL COMPONENTS 1674 - ELECTRICAL SYSTEMS 16
FIT
1:1
100%

Артикул

Название

Примечание

Количество

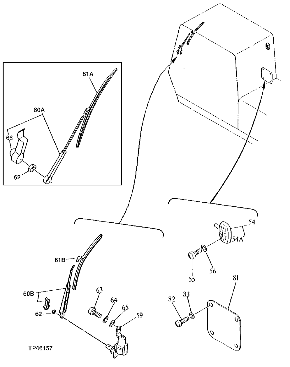
54

4187082

LAMP

(SUB FOR TH108567) (DOME)

1шт.

54A

4187083

BULB

(SUB FOR TH108568) DOME LIGHT

1шт.

55

21M7265

SCREW

M5 X 12

2шт.

56

12M7064

LOCK WASHER

5 MM

2шт.

59

4188762

WIPER MOTOR

(SUB FOR TH108570) (WIPER)

1шт.

60A

4257131

WIPER ARM

(SUB FOR TH108571) (SILVER) (USE IF AVAILABLE)

1шт.

60B

4257131

WIPER ARM

(SUB FOR TH108571) (SUB FOR AT154240) (BLACK)

1шт.

61A

WIPER BLADE

( TH101573 NO LONGER AVAILABLE) (SUB TY16303) (ALSO ORDER TY16323) (SILVER)

1шт.

61B

TY16304

WIPER BLADE

(SUB FOR 4257132) (ALSO ORDER TY16323) (BLACK)

1шт.

62

14M7273

NUT

M8

1шт.

63

21M7288

SCREW

M6 X 10, (SUB FOR TH100547)

3шт.

64

12M7006

LOCK WASHER

6 MM

3шт.

65

24M7054

WASHER

6.400 X 12 X 1.600 MM

3шт.

66

COVER

( TH108572 NO LONGER AVAILABLE)

1шт.

81

4158649

PLATE

(SUB FOR TH101577)

1шт.

82

21M7278

SCREW

M5 X 10

4шт.

83

12M7064

LOCK WASHER

5 MM (0.197")

4шт.

Выбрано товаров: 17