Запчасти John Deere 90D 8 - ELECTRICAL COMPONENTS 1674 - ELECTRICAL SYSTEMS 16

Схема запчастей John Deere 90D - 8 - ELECTRICAL COMPONENTS 1674 - ELECTRICAL SYSTEMS 16
FIT
1:1
100%

Артикул

Название

Примечание

Количество

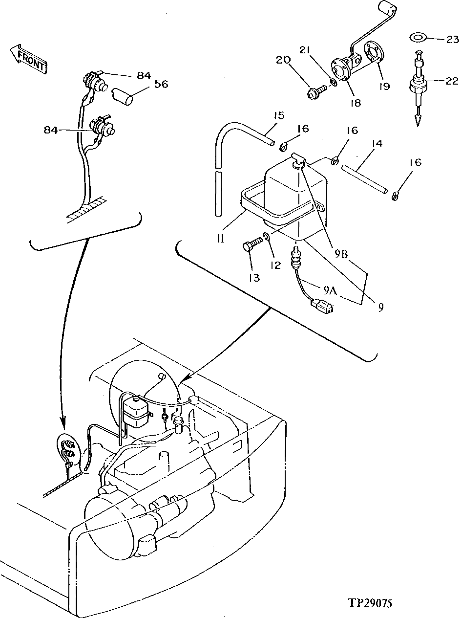
9

4130139

TANK

(SUB FOR TH102161) (WATER)

1шт.

9A

4153251

SENDER

(SUB FOR TH102932) COOLANT LEVEL

1шт.

4153251

SENDER

(SUB FOR TH102932) COOLANT LEVEL (FOR 493D - MUST SPLICE TWO 24 INCH PIECES OF 16 GAUGE WIRE INTO HARNESS)

1шт.

9B

4396809

CAP

(SUB FOR TH102933)

1шт.

11

4180555

BRACKET

(SUB FOR TH108579)

1шт.

12

12M7066

LOCK WASHER

10 MM

2шт.

13

19M8324

CAP SCREW

M10 X 16

2шт.

14

HOSE

( TH108580 NO LONGER AVAILABLE) (SUB T79477 BULK MATERIAL CUT TO LENGTH)

1шт.

15

HOSE

(MAKE FROM T79477 BULK MATERIAL, CUT TO LENGTH)

1шт.

16

TY22462

CLAMP

(SUB FOR AR77962 OR TH102166 OR AR48236)

3шт.

18

4201926

FUEL SENDER

(SUB FOR TH108581) FUEL LEVEL

1шт.

19

T211051

GASKET

(SUB FOR U42323)

1шт.

20

21M7278

SCREW

M5 X 10

5шт.

21

12M7064

LOCK WASHER

5 MM

5шт.

22

4201927

SWITCH

(SUB FOR TH108582) (FUEL LEVEL)

1шт.

23

4157648

SEALING WASHER

(SUB FOR TH108583)

1шт.

56

4207239

CAP

(SUB FOR TH108591)

1шт.

84

H77698

TIE BAND

(SUB FOR M88199)

2шт.

Выбрано товаров: 18