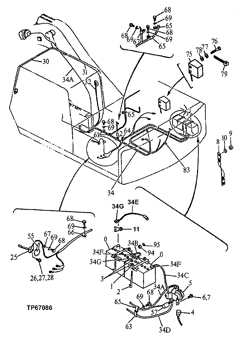
Запчасти John Deere 90D 12 - ELECTRICAL COMPONENTS 1674 - ELECTRICAL SYSTEMS 16

Схема запчастей John Deere 90D - 12 - ELECTRICAL COMPONENTS 1674 - ELECTRICAL SYSTEMS 16
FIT
1:1
100%

Артикул

Название

Примечание

Количество

0

TY6106

DRY CHARGED BATTERY

(USE IF AVAILABLE) (IF TY6106 NOT AVAILABLE, SUB TY21741)

2шт.

TY21741

DRY CHARGED BATTERY

625 COLD CRANKING AMPS AT 0°F (-18°C), 160-MINUTE RESERVE CAPACITY AT 25 AMPS, (SUB FOR TY6106)

2шт.

1

9727995

HOLDER

(SUB FOR TH108577)

2шт.

2

4177557

BOLT

(SUB FOR TH108578)

4шт.

3

14M7274

NUT

M10

8шт.

4

4240648

WIRING LEAD

(SUB FOR AT130831)

1шт.

5

4031771

RELAY

(SUB FOR TH104069) (BATTERY)

1шт.

6

19M7407

CAP SCREW

M8 X 25

2шт.

7

12M7056

LOCK WASHER

8 MM, (SUB FOR 12M7065)

2шт.

8

AT47069

GROUND CABLE

406.400 MM (16") (SUB FOR AT154993) STRAP (ENGINE FLYWHEEL HOUSING TO GROUND)

1шт.

9

14M7274

NUT

M10

1шт.

10

12M7066

LOCK WASHER

10 MM

1шт.

11

AT219485

CLAMP

(BATTERY TERMINAL CLAMPS)

4шт.

25

4151888

SWITCH

(SUB FOR TH102170) (HYDRAULIC OIL LEVEL)

1шт.

26

21M7265

SCREW

M5 X 12

3шт.

27

12M7064

LOCK WASHER

5 MM

3шт.

28

24M7027

WASHER

5.300 X 10 X 1 MM

3шт.

30

4229055

WIRING HARNESS

(SUB FOR TH111933) WIPER MOTOR

1шт.

31

4229056

WIRING HARNESS

(SUB FOR TH111934) WIPER MOTOR SWITCH

1шт.

32

4229057

WIRING HARNESS

(SUB FOR TH111935) DOME LIGHT

1шт.

34

4204696

WIRING HARNESS

(SUB FOR TH108593) (INCLUDES KEYS 34A THROUGH 34H)

1шт.

4260366

WIRING HARNESS

(SUB FOR AT128399) (INCLUDES KEYS 34A THROUGH 34H)

1шт.

34A

4245321

WIRING HARNESS

(SUB FOR AT126881) BOOM WORK LIGHT

1шт.

34B

AU42895

BATTERY CABLE

317.500 MM (12-1/2") (SUB FOR AT126882) (ALSO ORDER T107114, T107115 AND (2) R44302)

1шт.

R44302

TIE BAND

2шт.

34C

AR69238

BATTERY CABLE

457 MM (17.992") (SUB FOR AT126883) (ALSO ORDER T107114, T107115 AND (2) R44302)

1шт.

R44302

TIE BAND

2шт.

34D

4245320

WIRING HARNESS

(SUB FOR TH112114) BATTERY RELAY TO STARTER

1шт.

34E

AR46229

BATTERY CABLE

584.200 MM (23") (SUB FOR TH112115) (ALSO ORDER T107115)

1шт.

34F

T107114

COVER

(USE WITH REPLACEMENT BATTERY AND CABLES)

2шт.

4256240

CAP

(SUB FOR TH112250) (USE WITH ORIGINAL BATTERY AND CABLES)

2шт.

34G

T107115

COVER

(USE WITH REPLACEMENT BATTERY AND CABLES)

2шт.

4256241

CAP

(SUB FOR TH112251) (USE WITH ORIGINAL BATTERY AND CABLES)

2шт.

34H

AU42892

WIRING LEAD

(NOT ILLUSTRATED)

1шт.

55

4207240

CAP

(SUB FOR TH108590)

1шт.

57

4191038

ELECTRICAL CONNECTOR ASSY

(SUB FOR TH107964) (FUSIBLE LINK)

1шт.

61

R72659

CLAMP

(SUB FOR TH108594 OR 4235654)

2шт.

62

T24432

CLAMP

(SUB FOR TH108595)

1шт.

63

4190262

CLIP

(SUB FOR TH108596)

12шт.

64

R73384

CLAMP

(SUB FOR TH108597 OR 4190253)

1шт.

65

4190275

CLAMP

(SUB FOR TH108598)

4шт.

66

AH79175

CLIP

(SUB FOR TH108600 OR 4190272)

1шт.

67

T38377

CLAMP

(SUB FOR TH108601)

2шт.

68

19M8324

CAP SCREW

M10 X 16, (SUB FOR TH100270) (SUB FOR 19M8451, THIS APPLICATION)

23шт.

69

12M7066

LOCK WASHER

10 MM

23шт.

75

AT120884

TRAVEL WARNING ALARM

1шт.

76

19M8456

CAP SCREW

M8 X 100

2шт.

77

12M7056

LOCK WASHER

8 MM, (SUB FOR 12M7065)

2шт.

78

24M7055

WASHER

8.400 X 16 X 1.600 MM

2шт.

79

H77698

TIE BAND

(SUB FOR TH106422)

2шт.

83

H77698

TIE BAND

(SUB FOR T44946)

10шт.

94

14M7274

NUT

M10

1шт.

95

24M7028

WASHER

10.500 X 20 X 2 MM

1шт.

Выбрано товаров: 53