Запчасти John Deere 90D 6 - TRACK FRAME 1740 - FRAME, CHASSIS OR SUPPORTING STRUCTURE 17

Схема запчастей John Deere 90D - 6 - TRACK FRAME 1740 - FRAME, CHASSIS OR SUPPORTING STRUCTURE 17
FIT
1:1
100%

Артикул

Название

Примечание

Количество

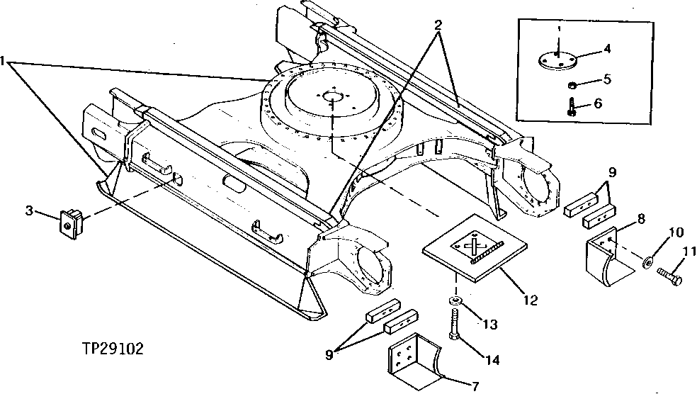
1

GUARD

(B) (SUB 84000A)

1шт.

84000A

GUARD

(B) (INSTALL BY WELDING)

1шт.

2

84020

GUIDE

(B) TOP, CHAIN

2шт.

3

84106

COVER

(B)

2шт.

4

84083

COVER

(B)

1шт.

5

12H301

LOCK WASHER

(B) 1/2"

4шт.

6

19H3472

CAP SCREW

(B) 5/8" X 9-3/4"

4шт.

7

100343

GUARD

(B) (LEFT HAND)

1шт.

8

100344

GUARD

(B) (RIGHT HAND)

1шт.

9

100348

BAR

(B) (INSTALL BY WELDING)

4шт.

10

T497T

WASHER

8шт.

11

19H1320

CAP SCREW

5/8" X 1-1/4"

8шт.

12

DY1299

PLATE

(B) (INSTALL BY WELDING)

1шт.

13

T497T

WASHER

2шт.

14

19H2898

CAP SCREW

1/2" X 1-1/4"

2шт.

Выбрано товаров: 15