Запчасти John Deere 90D 2 - CAB 1810 - OPERATORS STATION 18

Схема запчастей John Deere 90D - 2 - CAB 1810 - OPERATORS STATION 18
FIT
1:1
100%

Артикул

Название

Примечание

Количество

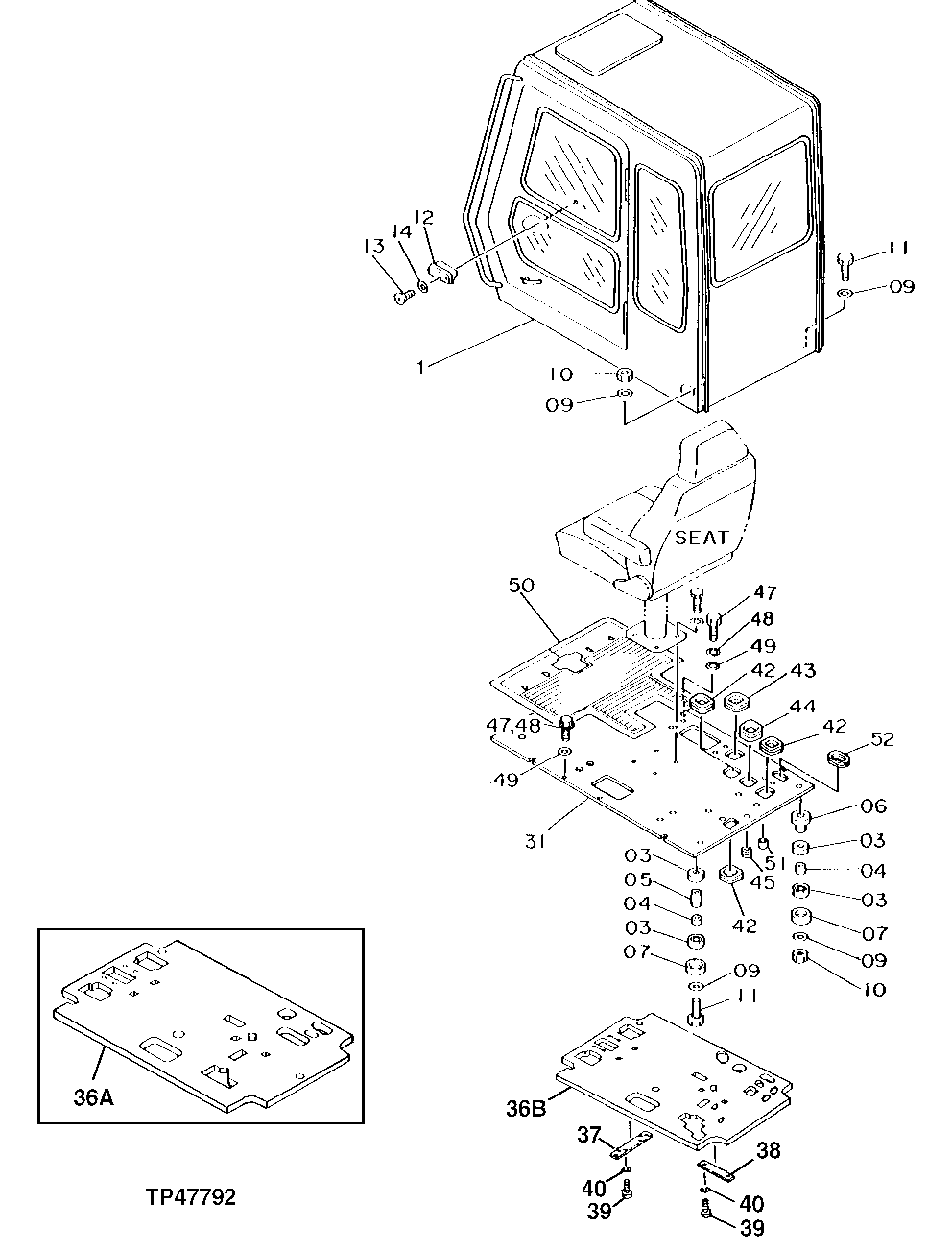
1

4196647J

CAB

(SUB FOR TH108621) (ALSO ORDER AT176754, (2) 14M7273 AND (2) 12M7065) (SUB FOR AT114976 OR 4196647)

1шт.

3

4200084

ISOLATOR

(SUB FOR TH108603)

8шт.

4

4200085

ISOLATOR

(SUB FOR TH108604)

4шт.

5

4200086

SPACER

(SUB FOR TH108605)

3шт.

6

9727615

STOP

(SUB FOR TH108606)

1шт.

7

4185675

STOP

(SUB FOR TH108607)

4шт.

9

4114405

WASHER

17 X 32 X 4.500 MM (0.669" X 1.260" X 0.177") (SUB FOR TH101105)

8шт.

10

14M7328

LOCK NUT

M16

4шт.

11

4203189

BOLT

M16 X 103, (SUB FOR TH108608)

4шт.

12

4298985

ASHTRAY

(SUB FOR TH101096)

1шт.

13

21M7278

SCREW

M5 X 10

2шт.

14

24M7027

WASHER

5.300 X 10 X 1 MM

2шт.

31

6008582

PLATE

(SUB FOR TH108609)

1шт.

36A

2038488

PAD

(SUB FOR TH108610) (USE IF AVAILABLE) (IF TH108610 NOT AVAILABLE, SUB AT174792)

1шт.

36B

2038488

PAD

(SUB FOR AT174792)

1шт.

37

4205043

PLATE

(SUB FOR TH108611)

1шт.

38

4204646

PLATE

(SUB FOR TH108612)

1шт.

39

19M7938

CAP SCREW

M10 X 20

4шт.

40

12M7066

LOCK WASHER

10 MM

4шт.

42

4205080

GROMMET

(SUB FOR TH108613)

3шт.

43

4205081

GROMMET

(SUB FOR TH108614)

1шт.

44

4205082

GROMMET

(SUB FOR TH108615)

1шт.

45

4205084

GROMMET

(SUB FOR TH108616)

1шт.

47

19M7662

CAP SCREW

M10 X 30

4шт.

48

12M7066

LOCK WASHER

10 MM

4шт.

49

4114402

WASHER

10.500 X 22 X 3.200 MM (0.413" X 0.866" X 0.126") (SUB FOR TH102181)

4шт.

50

1011413

MAT

(SUB FOR TH108617) (FLOOR)

1шт.

51

4209572

GROMMET

(SUB FOR TH108618)

1шт.

52

4209956

BUSHING

(SUB FOR TH108619)

1шт.

Выбрано товаров: 29