Запчасти John Deere 90D 8 - CAB COMPONENTS 1810 - OPERATORS STATION 18

Схема запчастей John Deere 90D - 8 - CAB COMPONENTS 1810 - OPERATORS STATION 18
FIT
1:1
100%

Артикул

Название

Примечание

Количество

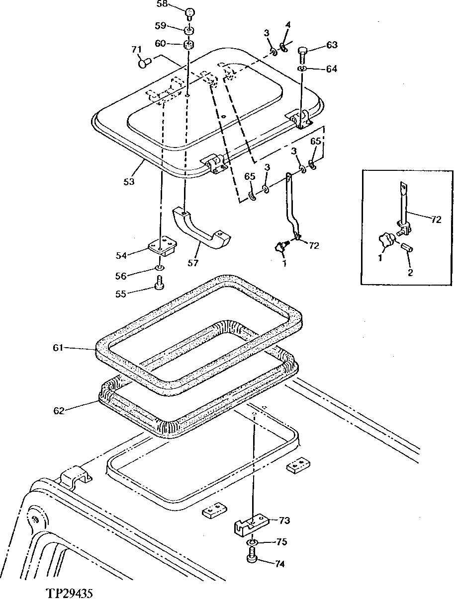
1

4208945

KNOB

(SUB FOR TH108699)

1шт.

4289287

KNOB

(SUB FOR AT130881)

1шт.

2

34M7137

SPRING PIN

3 X 18 MM, (SUB FOR TH108700)

1шт.

3

24M7027

WASHER

5.300 X 10 X 1 MM

2шт.

24M7054

WASHER

6.400 X 12 X 1.600 MM

3шт.

4

M800051

PIN

(SUB FOR TH106585) (SUB FOR CH10542)

1шт.

53

4208935

COVER

(SUB FOR TH108659)

1шт.

4239988

COVER

(SUB FOR AT130875)

1шт.

54

4204578

LOCK

(SUB FOR TH108660)

1шт.

55

21M7265

SCREW

M5 X 12

4шт.

56

12M7064

LOCK WASHER

5 MM

4шт.

57

4204579

HANDLE

(SUB FOR TH108661)

1шт.

58

4204580

BUMPER

(SUB FOR TH108662)

2шт.

59

4204581

WASHER

5.500 X 15 X 2 MM (0.217" X 0.591" X 0.079") (SUB FOR TH108663)

2шт.

60

14M7297

NUT

M5

2шт.

61

4204583

ISOLATOR

(SUB FOR TH108664)

1шт.

62

4204582

SUPPORT

(SUB FOR TH108665)

1шт.

63

19M7964

CAP SCREW

M8 X 12

4шт.

64

12M7056

LOCK WASHER

8 MM, (SUB FOR 12M7065)

4шт.

65

12M7075

WASHER

5.300 X 11 X 0.500 MM, (SUB FOR TH108698)

2шт.

4239992

WASHER

(SUB FOR AT130880)

2шт.

71

16M2507

RIVET

5 X 18 MM, (SUB FOR TH108697)

1шт.

4239991

RIVET

(SUB FOR AT130879)

1шт.

72

4208942

SUPPORT

(SUB FOR TH108696)

1шт.

4341195

SUPPORT

(SUB FOR AT130878)

1шт.

73

4208941

BRACKET

(SUB FOR TH108695)

1шт.

4239989

BRACKET

(SUB FOR AT130876)

1шт.

74

21M7361

SCREW

M8 X 12

2шт.

21M7192

SCREW

M8 X 16, (SUB FOR AT130877, ALONG WITH 12M7065)

2шт.

75

12M7056

LOCK WASHER

8 MM, (SUB FOR 12M7065)

2шт.

80

4196647J

CAB

(SUB FOR AT114976 OR 4196647) (NOT ILLUSTRATED) (CONTAINS ALL ITEMS ON THIS PAGE - FOR ADDITIONAL COMPONENTS SEE PREVIOUS AND FOLLOWING PAGES) (SUB FOR TH108621 ALONG WITH AT148303, (2) 14M7273 AND (2) 12M7065)

1шт.

Выбрано товаров: 31