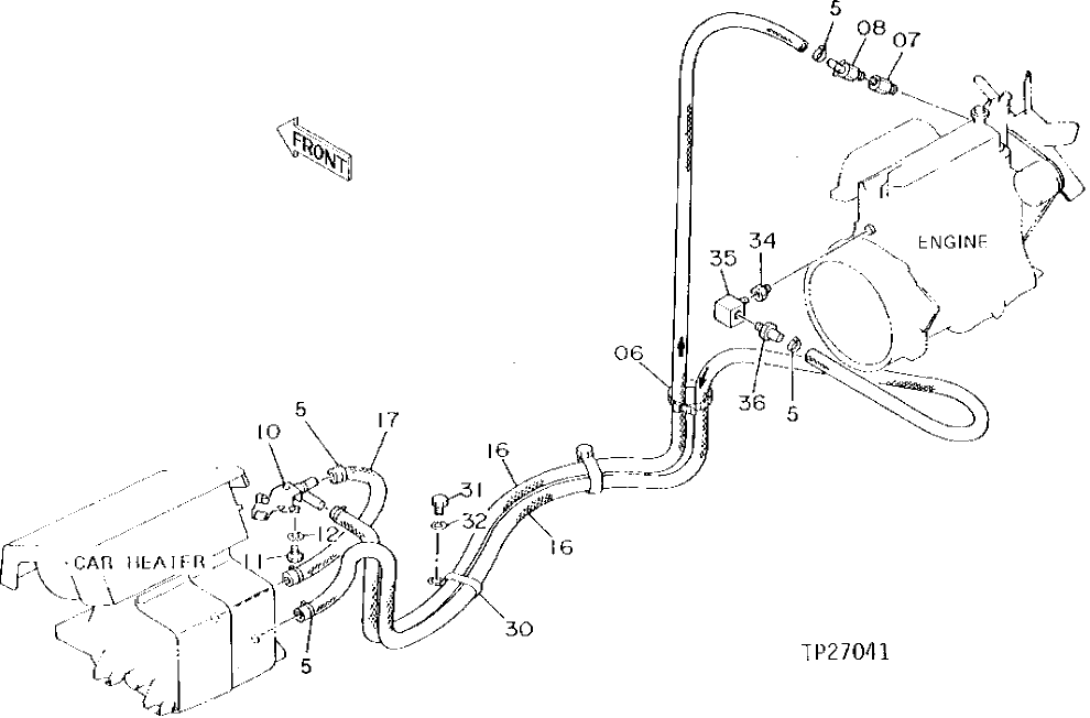
Запчасти John Deere 90D 4 - CAB HEATER 1830 - OPERATORS STATION 18

Схема запчастей John Deere 90D - 4 - CAB HEATER 1830 - OPERATORS STATION 18
FIT
1:1
100%

Артикул

Название

Примечание

Количество

5

WZ2141223

HOSE CLAMP

(SUB FOR AR21837, THIS APPLICATION) (SUB FOR AA34965)

6шт.

6

H77698

TIE BAND

(SUB FOR T44946)

9шт.

7

15H586

ADAPTER FITTING

3/8", (SUB FOR TH101079)

1шт.

8

AT105319

HAND OPERATED VALVE

(SUB FOR TH101081 ALONG WITH T103301, 15H597, AND 29H587)

1шт.

15H597

COUPLING

3/8"

1шт.

29H587

THREADED NIPPLE

3/8"

1шт.

10

4195823

DRAIN VALVE

(SUB FOR TH108790)

1шт.

11

21M7252

SCREW

M4 X 16

2шт.

12

12H315

LOCK WASHER

4.166 MM, (SUB FOR 12M7063)

2шт.

16

HOSE

( T115300 NO LONGER AVAILABLE) (MAKE FROM TY22326 BULK HEATER HOSE, CUT TO LENGTH)

ARшт.

17

HOSE

( T115300 NO LONGER AVAILABLE) (MAKE FROM TY22326 BULK HEATER HOSE, CUT TO LENGTH)

ARшт.

30

4190266

CLIP

(SUB FOR TH108793)

4шт.

31

19M8324

CAP SCREW

M10 X 16

4шт.

32

12M7066

LOCK WASHER

10 MM

4шт.

34

15H576

PIPE BUSHING

3/8"

1шт.

35

T23837

FITTING

9.525 MM (3/8")

1шт.

36

T103301

HOSE FITTING

1шт.

Выбрано товаров: 17