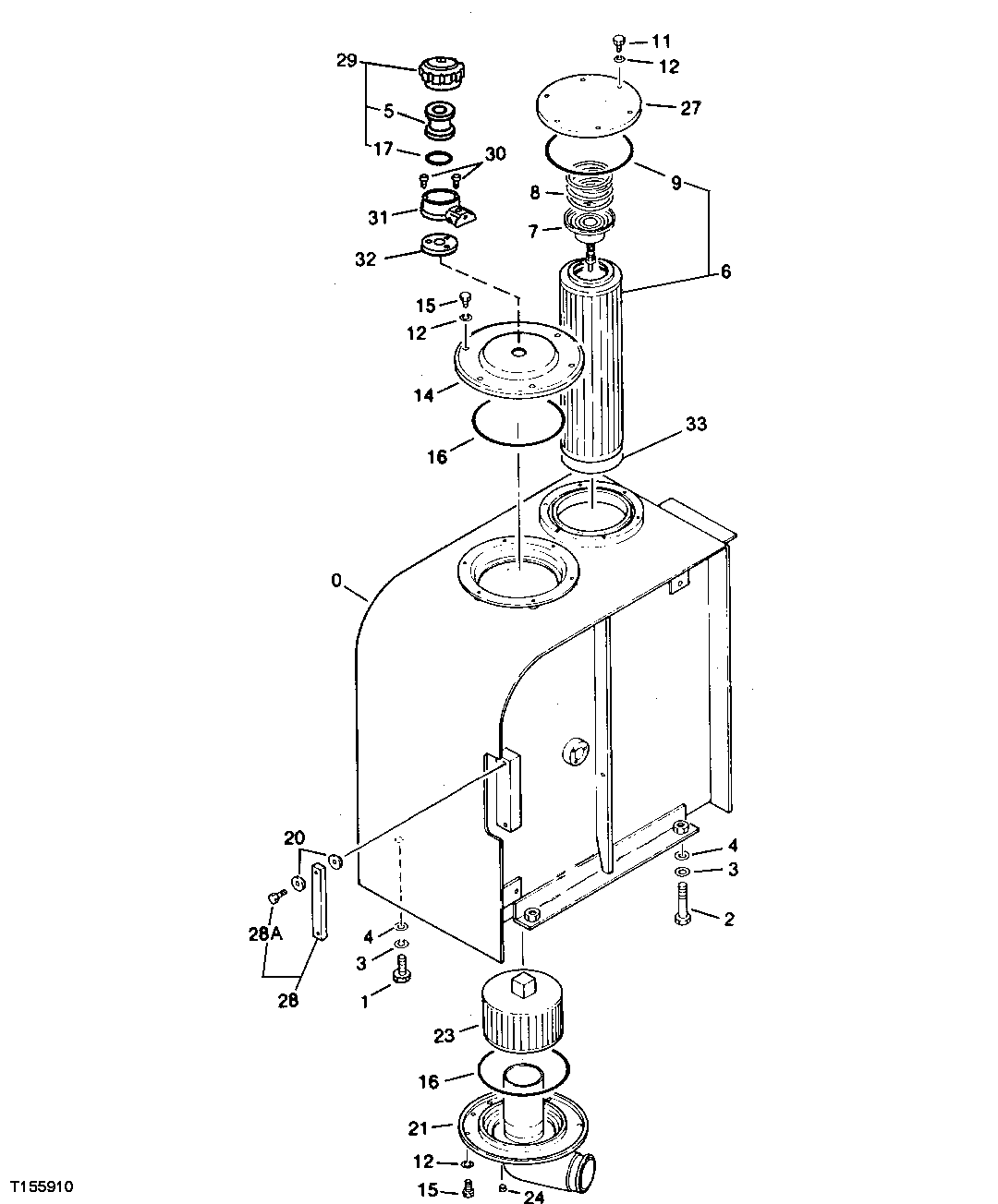
Запчасти John Deere 90D 2 - HYDRAULIC RESERVOIR 2160 - MAIN HYDRAULIC SYSTEM 21

Схема запчастей John Deere 90D - 2 - HYDRAULIC RESERVOIR 2160 - MAIN HYDRAULIC SYSTEM 21
FIT
1:1
100%

Артикул

Название

Примечание

Количество

0

6007798

HYDRAULIC RESERVOIR

(SUB FOR TH108288)

1шт.

1

19M7488

CAP SCREW

M16 X 40

2шт.

2

19M7720

CAP SCREW

M16 X 80

2шт.

3

12H294

LOCK WASHER

5/8"

4шт.

4

4114405

WASHER

17 X 32 X 4.500 MM (0.669" X 1.260" X 0.177") (SUB FOR TH101105)

4шт.

5

4251384

FILTER ELEMENT

(SUB FOR AT122928)

1шт.

6

AT308569

FILTER ELEMENT

(ALSO ORDER AT194547) (SUB FOR TH103699) (SUB FOR TH111010) (SUB FOR 4227353)

1шт.

AT171693

FILTER

(NOT ILLUSTRATED) (CLEAN-UP FILTER) (LIMITED USE - APPROXIMATELY 3 HOURS) (IDLE SPEED) (ALSO REQUIRES CH17213 PACKING)

1шт.

7

4065280

FLOW CONTROL HYD. VALVE

(SUB FOR TH101887)

1шт.

8

4109393

SPRING

(SUB FOR TH101883)

1шт.

9

CH17213

PACKING

(SUB FOR TH101886)

1шт.

11

19M7938

CAP SCREW

M10 X 20

6шт.

12

12M7066

LOCK WASHER

10 MM

18шт.

14

8033464

COVER

(SUB FOR TH108289)

1шт.

15

19M8784

SCREW

M10 X 20, (SUB FOR TH101355, 19M8356)

12шт.

16

TH100679

O-RING

159.300 X 5.700 MM (6.272" X 0.224")

2шт.

17

T162516

O-RING

(SUB FOR TH111019, THIS APPLICATION)

1шт.

20

449558

WASHER

(SUB FOR TH100675)

4шт.

21

8044138

LINE

(SUB FOR TH108291) (SUB FOR AT127124)

1шт.

23

4190987

FILTER ELEMENT

(SUB FOR TH100678) (SUB FOR AT128326)

1шт.

24

94-2011

FITTING PLUG

(SUB FOR TH100434)

1шт.

27

4202009

COVER

(SUB FOR TH108292)

1шт.

28

8053499

LEVEL GAUGE

(SUB FOR TH108293)

1шт.

28A

4100967

BOLT

(SUB FOR TH101894)

2шт.

29

4326285

CAP

(SUB FOR TH111018) (SUB FOR AT167080)

1шт.

30

19M8146

SCREW

M5 X 16

3шт.

31

4222875

BASE

(SUB FOR TH111021)

1шт.

32

4222876

PACKING

(SUB FOR TH111022)

1шт.

33

AT194547

O-RING

1шт.

Выбрано товаров: 29