Запчасти John Deere 90D 4 - LEFT BOOM CYLINDER 3360 - EXCAVATOR 33

Схема запчастей John Deere 90D - 4 - LEFT BOOM CYLINDER 3360 - EXCAVATOR 33
FIT
1:1
100%

Артикул

Название

Примечание

Количество

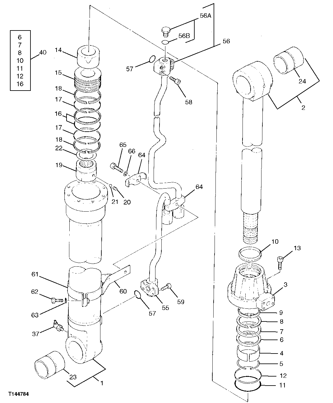
1

4227360

HYDRAULIC CYLINDER BARREL

(SUB FOR TH111669) LEFT HAND

1шт.

4227359

HYDRAULIC CYLINDER BARREL

(SUB FOR TH111667) (USE WITH AT264206 REPLACEMENT CYLINDER)

1шт.

2

4227361

ROD

(SUB FOR TH109309) (SUB FOR TH111668)

1шт.

3

0310703

CYLINDER HEAD

(SUB FOR TH109310)

1шт.

4

TH109311

WEAR RING

1шт.

5

TH109312

SNAP RING

(SUB FOR 0240904)

1шт.

6

RING

(A) ( 4S00188 NLA) (SUB FOR TH109313)

1шт.

7

4S00189

PACKING

(A) (SUB FOR TH109314)

1шт.

8

4S00190

BACK-UP RING

(A) (SUB FOR TH109315)

1шт.

9

4S00136

RING

(SUB FOR TH109316)

1шт.

10

0240910

RING

(A) (SUB FOR TH109317)

1шт.

11

AT264319

O-RING

(A) 99.400 X 3.100 MM (3.913" X 0.122") (SUB FOR TH100084, T110447)

1шт.

12

TH109318

BACK-UP RING

(A)

1шт.

13

0163406

SCREW

M16 X 55, (SUB FOR TH109319 OR 0163406)

8шт.

14

0310512

SLEEVE

(SUB FOR TH109320)

1шт.

15

0310507

PISTON

(SUB FOR TH109321)

1шт.

16

AT264387

RING

(A) (SUB FOR TH109322)

1шт.

17

AT309607

RING

(SUB FOR TH109323, 4S00139)

2шт.

18

AT264388

RING

(SUB FOR TH109324, 0310510 AND 4S00155)

2шт.

19

0310511

NUT

(SUB FOR TH109325)

1шт.

20

22M6684

SET SCREW

M12 X 12, (SUB FOR T108026)

1шт.

21

T13624

BALL

7.145 MM (9/32") (SUB FOR T108027)

1шт.

22

TH109328

SHIM

0.300 MM (0.012") (SUB FOR 0310514)

1шт.

23

4S00353

BUSHING

(SUB FOR TH109329)

1шт.

24

0174403

BUSHING

(SUB FOR TH104939)

1шт.

37

T116334

LUBRICATION FITTING

(SUB FOR TH100075)

1шт.

38

AT264206

CYLINDER REMAN

REMANUFACTURED, (SUB FOR TH109341) (SUB FOR TH109307, 4206337) (NOT ILLUSTRATED) (CONTAINS ITEMS 1 THROUGH 37)

1шт.

40

AT192095

SEAL KIT

(INCLUDES PARTS MARKED (A)) (USE TH109339 UNTIL EXHAUSTED) (ALSO ORDER (2) 4S00139 AND (2) AT264388) (SUB FOR TH109339)

1шт.

55

0310802

LINE

(SUB FOR TH109343)

1шт.

56

0310803

LINE

(SUB FOR TH109344)

1шт.

56A

4174541

FITTING

(SUB FOR TH110477)

1шт.

56B

4506418

O-RING

17.800 X 2.400 MM (0.701" X 0.094") (SUB FOR U46489)

1шт.

57

4S00734

O-RING

(SUB FOR TH103574 OR AT264354, 0976602)

2шт.

58

T116311

BOLT

M8 X 40, (SUB FOR TH109332)

4шт.

59

19M8213

SCREW

M10 X 50, (SUB FOR TH109333 AND T108034)

4шт.

60

0310706

BAND

(SUB FOR TH109334)

1шт.

61

0310707

BAND

(SUB FOR TH109335)

1шт.

62

19M7550

CAP SCREW

M10 X 35, (SUB FOR T108032)

2шт.

63

12M7066

LOCK WASHER

10 MM

2шт.

64

TH109337

CLAMP

2шт.

65

19M8348

CAP SCREW

M12 X 65, (SUB FOR TH109338)

1шт.

66

12M7058

LOCK WASHER

12 MM, (SUB FOR 12M7067)

1шт.

67

SEAL

(ROD AND HEAD END) (NOT ILLUSTRATED OR INCLUDED IN CYLINDER ASSEMBLY - FOR DETAIL SEE BOOM, BUCKET AND ARM PLUMBING)

2шт.

Выбрано товаров: 43