Запчасти John Deere 90D 8 - BUCKET CYLINDER 3360 - EXCAVATOR 33

Схема запчастей John Deere 90D - 8 - BUCKET CYLINDER 3360 - EXCAVATOR 33
FIT
1:1
100%

Артикул

Название

Примечание

Количество

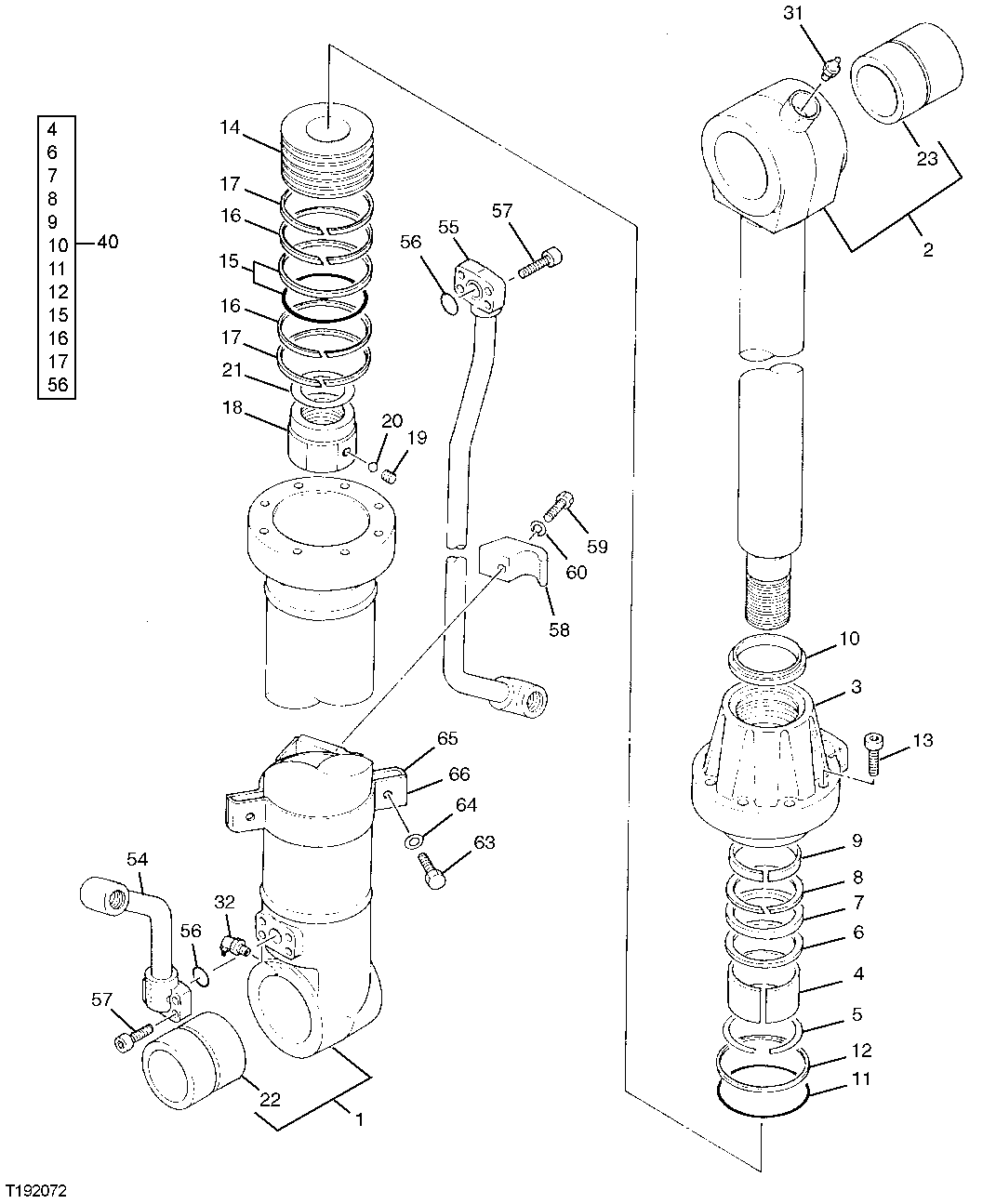
0

AT182468

CYLINDER

(REMANUFACTURED) (NOT ILLUSTRATED) (CONTAINS ITEMS 1 THROUGH 32) (SUB FOR TH109368)

1шт.

1

4227364

HYDRAULIC CYLINDER BARREL

(SUB FOR TH109369) (SUB FOR TH111662)

1шт.

2

4227365

ROD

(SUB FOR TH109370) (SUB FOR TH111663)

1шт.

3

0310603

CYLINDER HEAD

(SUB FOR TH109371)

1шт.

4

AT264389

WEAR RING

(SUB FOR TH109372)

1шт.

5

4510494

SNAP RING

(SUB FOR TH106169)

1шт.

6

AT264376

RING

(SUB FOR TH105766, 4S00167)

1шт.

7

AT264374

SEAL

(SUB FOR TH105764)

1шт.

8

AT264375

BACK-UP RING

(SUB FOR TH105765)

1шт.

9

AT264390

RING

(SUB FOR 4S00135, TH109373)

1шт.

10

H158164

SCRAPER RING

1шт.

11

CH18696

PACKING

1шт.

12

AT264391

BACK-UP RING

(SUB FOR TH109374)

1шт.

13

0163406

SCREW

M16 X 55, (SUB FOR TH109319 OR 0163406)

8шт.

14

0310607

PISTON

(SUB FOR TH109375)

1шт.

15

AT264392

RING

(SUB FOR TH109376)

1шт.

16

AT264393

RING

(SUB FOR TH109377, 4S00138)

2шт.

17

AT264394

RING

(SUB FOR TH109378)

2шт.

18

0310611

NUT

(SUB FOR TH109379)

1шт.

19

22M7139

SET SCREW

M10 X 10, (SUB FOR TH109380)

1шт.

20

400R

BALL

6.350 MM (1/4") (SUB FOR TH109381)

1шт.

21

0310613

SHIM

0.300 MM (0.012") (SUB FOR TH109382)

1шт.

22

0310513

BUSHING

(SUB FOR TH109383)

1шт.

23

0174403

BUSHING

(SUB FOR TH104939)

1шт.

31

TH100074

LUBRICATION FITTING

1шт.

32

T116334

LUBRICATION FITTING

(SUB FOR TH100075)

1шт.

40

AT264445

SEAL KIT

(INCLUDES PARTS MARKED (A)) (SUB FOR TH109390)

1шт.

54

4S00334

LINE

(SUB FOR TH109384)

1шт.

55

4S00335

LINE

(SUB FOR TH109385)

1шт.

56

4S00734

O-RING

(SUB FOR TH103574 OR AT264354, 0976602)

2шт.

57

19M8439

SCREW

M8 X 25

8шт.

58

0310616

CLAMP

(SUB FOR TH109386)

1шт.

59

19M7493

CAP SCREW

M12 X 40, (SUB FOR TH109387)

1шт.

60

12M7058

LOCK WASHER

12 MM, (SUB FOR 12M7067)

1шт.

63

19M7550

CAP SCREW

M10 X 35, (SUB FOR T108032)

2шт.

64

12M7066

LOCK WASHER

10 MM

2шт.

65

0310618

BAND

(SUB FOR TH109388)

1шт.

66

0310619

BAND

(SUB FOR TH109389)

1шт.

67

SEAL

(ROD AND HEAD END) (NOT ILLUSTRATED OR INCLUDED IN CYLINDER ASSEMBLY - FOR DETAIL SEE BOOM, BUCKET AND ARM PLUMBING)

2шт.

Выбрано товаров: 39