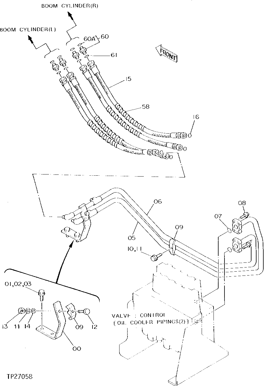
Запчасти John Deere 90D 22 - MAIN PIPINGS 3360 - EXCAVATOR 33

Схема запчастей John Deere 90D - 22 - MAIN PIPINGS 3360 - EXCAVATOR 33
FIT
1:1
100%

Артикул

Название

Примечание

Количество

0

4189137

SUPPORT

(SUB FOR TH108330)

1шт.

1

19M7872

CAP SCREW

M12 X 25

2шт.

2

12H301

LOCK WASHER

1/2"

2шт.

3

24M7047

WASHER

13 X 24 X 2.500 MM

2шт.

5

8035495

LINE

(SUB FOR TH108331)

1шт.

6

8035496

LINE

(SUB FOR TH108332)

1шт.

7

CH12329

PACKING

(SUB FOR TH100770)

2шт.

8

19M8439

SCREW

M8 X 25

8шт.

9

4189858

CLAMP

(SUB FOR TH108333)

2шт.

10

19M7361

CAP SCREW

M12 X 50

1шт.

11

12H301

LOCK WASHER

1/2"

2шт.

12

19M7363

CAP SCREW

M12 X 60

1шт.

13

14M7275

NUT

M12

1шт.

14

24M7047

WASHER

13 X 24 X 2.500 MM

1шт.

15

4188986

HYDRAULIC HOSE - FABRICATE

(SUB FOR TH108334)

4шт.

16

T77857

O-RING

12.420 X 1.780 MM (0.489" X 0.070") (SUB FOR TH108323)

4шт.

58

HOSE GUARD

(MAKE FROM XHG-075 BULK MATERIAL, CUT TO LENGTH) (SUB FOR AT138222)

4шт.

60

4189602

FITTING

(SUB FOR TH108350)

4шт.

60A

4506418

O-RING

17.800 X 2.400 MM (0.701" X 0.094") (SUB FOR TH100061) (SUB FOR U46489)

1шт.

61

T77857

O-RING

12.420 X 1.780 MM (0.489" X 0.070") (SUB FOR TH108323)

4шт.

Выбрано товаров: 20