Запчасти John Deere 90D 82 - PILOT OIL FLOW CONTROL VALVE 3360 - EXCAVATOR 33

Схема запчастей John Deere 90D - 82 - PILOT OIL FLOW CONTROL VALVE 3360 - EXCAVATOR 33
FIT
1:1
100%

Артикул

Название

Примечание

Количество

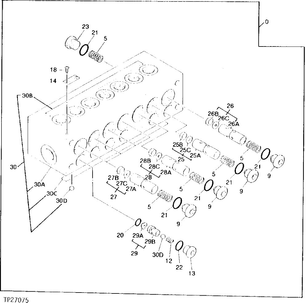
0

4188553

VALVE

(SUB FOR TH108436)

1шт.

5

0309801

SPRING

(SUB FOR TH109280)

14шт.

9

0309802

PIPE PLUG

(SUB FOR TH109281)

7шт.

12

0309803

SPRING

(SUB FOR TH109282)

6шт.

13

AT49216

FITTING PLUG

(SUB FOR TH109283) (CONTAINS O-RING)

6шт.

T70177

O-RING

11.887 X 1.981 MM (0.468" X 5/64") (NOT ILLUSTRATED)

1шт.

14

IDENTIFICATION PLATE

(SUB TH108436)

1шт.

18

0208717

SCREW

(SUB FOR TH102697)

2шт.

20

CH11569

PACKING

(SUB FOR TH100032)

6шт.

21

CH11570

O-RING

14шт.

22

4S00110

O-RING

(SUB FOR TH109284 OR R26448, THIS APPLICATION)

6шт.

23

15M7036

DRAIN PLUG

(SUB FOR TH109285 OR 0309805)

7шт.

25

0309806

PLUNGER

(SUB FOR TH109286)

1шт.

25A

ORIFICE

(SUB TH109286)

1шт.

25B

RING

(SUB TH109286)

1шт.

25C

ORIFICE

(SUB TH109286)

1шт.

26

0309807

PLUNGER

(SUB FOR TH109287)

1шт.

26A

PLUNGER

(SUB TH109287)

1шт.

26B

RING

(SUB TH109287)

1шт.

26C

ORIFICE

(SUB TH109287)

1шт.

27

0309808

PLUNGER

(SUB FOR TH109288)

4шт.

27A

PLUNGER

(SUB TH109288)

1шт.

27B

RING

(SUB TH109288)

1шт.

27C

ORIFICE

(SUB TH109288)

1шт.

28

4212780

PLUNGER

(SUB FOR TH109289) (SUB FOR TH111865)

1шт.

28A

PLUNGER

(SUB TH111865)

1шт.

28B

RING

(SUB TH111865)

1шт.

28C

ORIFICE

(SUB TH111865)

1шт.

29

0309810

FILTER

(SUB FOR TH109290)

6шт.

29A

FILTER

1шт.

29B

SLEEVE

1шт.

30

HOUSING

(SUB TH108436) ( TH109291 NO LONGER AVAILABLE)

1шт.

30A

HOUSING

(SUB TH108436)

1шт.

30B

SEAL

( TH109292 NO LONGER AVAILABLE)

1шт.

30C

SEAL

( TH109293 NO LONGER AVAILABLE)

1шт.

30D

L38718

BALL

6 MM (0.236") (SUB FOR TH109294)

12шт.

Выбрано товаров: 0