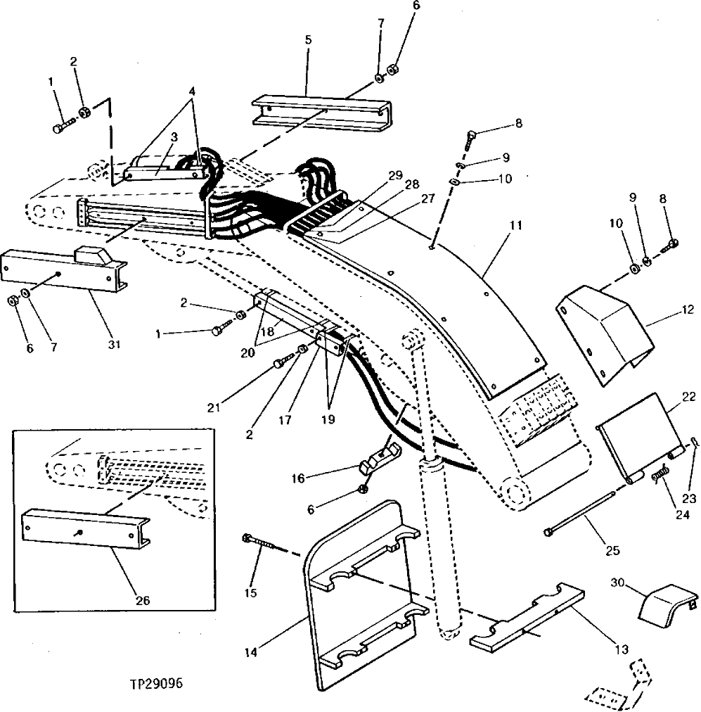
Запчасти John Deere 90D 108 - BOOM AND ARM HYDRAULICS GUARDS 3360 - EXCAVATOR 33

Схема запчастей John Deere 90D - 108 - BOOM AND ARM HYDRAULICS GUARDS 3360 - EXCAVATOR 33
FIT
1:1
100%

Артикул

Название

Примечание

Количество

1

19H1912

CAP SCREW

3/8" X 3-1/2"

4шт.

2

T11234

LOCK NUT

9.525 MM (3/8")

6шт.

3

89632

GUARD

(B)

1шт.

4

89636

CLAMP

(B)

2шт.

5

84215

GUARD

(B)

1шт.

6

BP12214

LOCK NUT

12.700 MM (1/2")

9шт.

7

12H301

LOCK WASHER

1/2"

6шт.

8

19H2676

CAP SCREW

3/8" X 1"

14шт.

9

24H1219

WASHER

7/16" X 1" X 0.083"

14шт.

10

12H304

LOCK WASHER

3/8"

14шт.

11

84231

COVER

(B)

1шт.

12

84223

COVER

(B)

1шт.

13

84054

CLAMP

(B)

2шт.

14

84191

PLATE

(B)

1шт.

15

08H4460

CAP SCREW

1/2" X 7-1/2"

4шт.

16

2J7731

CLAMP

(B)

3шт.

17

89633

GUARD

(B)

1шт.

18

89635

GUARD

(B)

1шт.

19

89638

CLAMP

(B)

2шт.

20

89637

CLAMP

(B)

2шт.

21

89634

SCREW

(B)

2шт.

22

89620

COVER

(B)

1шт.

23

11H41

COTTER PIN

1/8" X 1"

1шт.

24

89621

SPRING

(B)

2шт.

25

89616

PIN

(B)

1шт.

26

GUARD

(B) (SUB 84216)

1шт.

27

89667

COVER

(B)

2шт.

28

89666

COVER

(B)

2шт.

29

89665

COVER

(B)

6шт.

30

DY1231

GUARD

(B)

1шт.

31

84216

GUARD

(B)

1шт.

Выбрано товаров: 31