Запчасти John Deere 90D 12 - TRACK CHAIN 130 - TRACKS 1

Схема запчастей John Deere 90D - 12 - TRACK CHAIN 130 - TRACKS 1
FIT
1:1
100%

Артикул

Название

Примечание

Количество

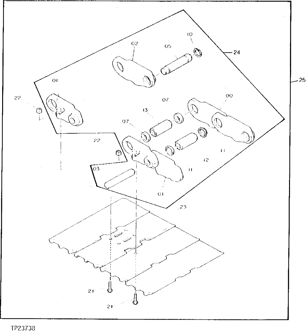
0

AT128410

STRUTTED LINK-RH

42шт.

1

T212009

STRUTTED LINK-RH

(SUB FOR AT128411)

43шт.

2

AT128412

MASTER TRACK LINK-RH

MASTER

1шт.

3

AT173246

PIN

(SUB FOR TH108896) (K2)

42шт.

5

AT173247

MASTER TRACK PIN

(SUB FOR TH108897) (K2) MASTER

1шт.

7

TH108898

SPACER

33.900 X 51 X 12.600 MM (1.335" X 2.008" X 0.496") (K2)

2шт.

10

T212046

SNAP RING

(SUB FOR 4192665, TH108899 OR DH400631) (K2)

1шт.

11

4347208

SEAL

(SUB FOR AT128413 OR AT173245) (5.7 MM LENGTH) (K2)

84шт.

12

AT128414

BUSHING

34.100 X 50.570 X 125 MM (1.343" X 1.991" X 4.921") (125 MM LENGTH) (K2)

42шт.

13

TH100397

BUSHING

100.500 X 107.500 X 50.570 MM (3.957" X 4.232" X 1.991") (K2) MASTER

1шт.

21

T212050

TRACK BOLT

(SUB FOR AT128415 OR AT173248 OR AT180444) (172 EACH SIDE OF UNIT)

344шт.

T43323

TRACK BOLT

(K) 15.875 X 52 MM (5/8" X 2.047") (172 EACH SIDE OF UNIT) (HEAVY DUTY) (SUB FOR T45096)

344шт.

22

T212051

NUT

(SUB FOR AT128416 OR AT180443) (172 EACH SIDE OF UNIT)

344шт.

T45097

NUT

(K) 15.875 MM (5/8") (172 EACH SIDE OF UNIT) (HEAVY DUTY)

344шт.

23

2037093

OPEN CENTER 3 BAR SHOE

(SUB FOR TH100400 AND 2019235) 500 MM (19.62") PAD (43 EACH SIDE OF UNIT)

86шт.

T212011

OPEN CENTER 3 BAR SHOE

(SUB FOR TH111657) 600 MM (23.62") PAD (43 EACH SIDE OF UNIT)

86шт.

T212012

OPEN CENTER 3 BAR SHOE

(SUB FOR TH108986 OR 2024425) 700 MM (28") PAD (43 EACH SIDE OF UNIT)

86шт.

T57079

OPEN CENTER 3 BAR SHOE

(K) 600 MM (23.62") PAD (HEAVY DUTY) (43 EACH SIDE OF UNIT)

86шт.

2034772

SINGLE BAR SHOE

(SUB FOR AT158182) (600 MM - 24 INCH) (NOT ILLUSTRATED)

86шт.

24

AT128409

TRACK CHAIN W/O SHOES

2шт.

25

TRACK CHAIN W/O SHOES

(ORDER INDIVIDUAL COMPONENTS)

2шт.

Выбрано товаров: 0