Запчасти John Deere 90D 5 - ENGINE OIL PUMP 407 - ENGINE 4

Схема запчастей John Deere 90D - 5 - ENGINE OIL PUMP 407 - ENGINE 4
FIT
1:1
100%

Артикул

Название

Примечание

Количество

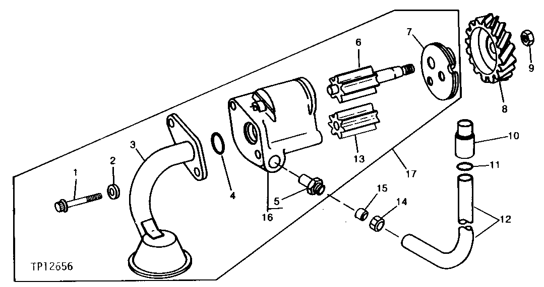
1

R116424

SCREW

(SUB FOR R64552, THIS APPLICATION) (ALSO ORDER (2) R74553)

2шт.

2

R74553

WASHER

(USE WITH R116424)

2шт.

3

RE20851

OIL PUMP INTAKE

1шт.

4

R61871

O-RING

1шт.

5

R79560

ADAPTER FITTING

1шт.

6

AR85788

SHAFT

(7 TEETH)

1шт.

7

R54632

COVER

1шт.

8

T20298

GEAR

(33 TEETH)

1шт.

9

14H826

NUT

1/2"

1шт.

10

R54815

FITTING

1шт.

R115390

BUSHING

(USE WITH CYLINDER BLOCK, MARKED R108755)

1шт.

11

R80632

O-RING

(SUB FOR R77052)

ARшт.

R97185

O-RING

(USE WITH CYLINDER BLOCK, MARKED R108755)

1шт.

12

R79561

OIL TUBE

1шт.

R112867

OIL TUBE

(USE WITH CYLINDER BLOCK, MARKED R108755)

1шт.

13

R66177

GEAR

(7 TEETH)

1шт.

14

R79562

FITTING

1шт.

15

R79563

SLEEVE

1шт.

16

RE15490

HOUSING

(MARKED R54629 OR R97587)

1шт.

17

AR79464

OIL PUMP

1шт.

Выбрано товаров: 0