Запчасти John Deere 90D 1 - FUEL INJECTION NOZZLE 413 - ENGINE 4

Схема запчастей John Deere 90D - 1 - FUEL INJECTION NOZZLE 413 - ENGINE 4
FIT
1:1
100%

Артикул

Название

Примечание

Количество

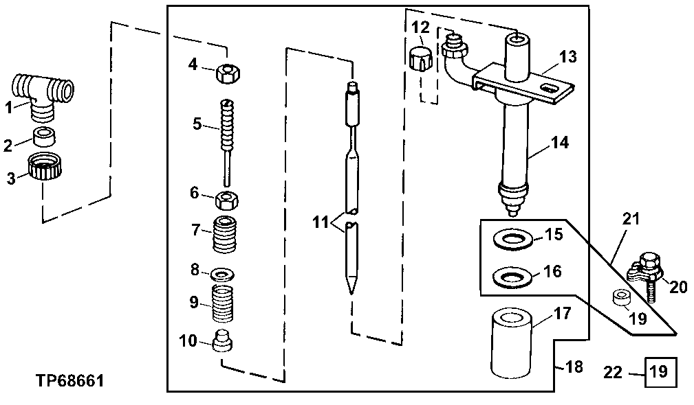
1

R79606

TEE FITTING

1шт.

2

R79605

WASHER

1шт.

3

R79604

TUBE NUT

1шт.

4

NUT

( R47733 NO LONGER AVAILABLE)

1шт.

5

SCREW

( R69443 NO LONGER AVAILABLE)

1шт.

6

NUT

( R46675 NO LONGER AVAILABLE)

1шт.

7

SCREW

( R62984 NO LONGER AVAILABLE)

1шт.

8

SHIM

( R62981 NO LONGER AVAILABLE)

1шт.

9

SPRING

( R69442 NO LONGER AVAILABLE)

1шт.

10

VALVE SEAT

( R62982 NO LONGER AVAILABLE)

1шт.

11

VALVE

(SUB RE37503 AND R92351)

1шт.

12

CAP (HAT)

( T31174 NO LONGER AVAILABLE) (USE FOR SERVICING NOZZLE)

1шт.

13

R67779

CLAMP

1шт.

14

HOUSING

(SUB RE37503 AND R92351)

1шт.

15

R60746

WASHER

1шт.

16

R48000

SEAL

1шт.

17

T24472

CAP

1шт.

18

AR90024

INJECTION NOZZLE

(ROOSA-MASTER NO. 22264) (SUB RE37503 AND R92351)

1шт.

19

R60745

SPACER

1шт.

20

R34760

CLAMP

(WITH SCREW AND WASHER)

1шт.

21

RE13887

O-RING KIT

1шт.

22

RE32011

O-RING KIT

1шт.

Выбрано товаров: 22