Качественные детали и логистика
Оригинальные и аналоговые запчасти с доставкой по России, Казахстану и Беларуси
©2022 PartSell ООО "Система" ИНН 2463123282 ОГРН 1212400004838
Центральный офис: г. Красноярск, Академика Киренского, д.87, пом.4
Телефон: 8 (800) 777-65-74 Email: zakaz@partsell.ru
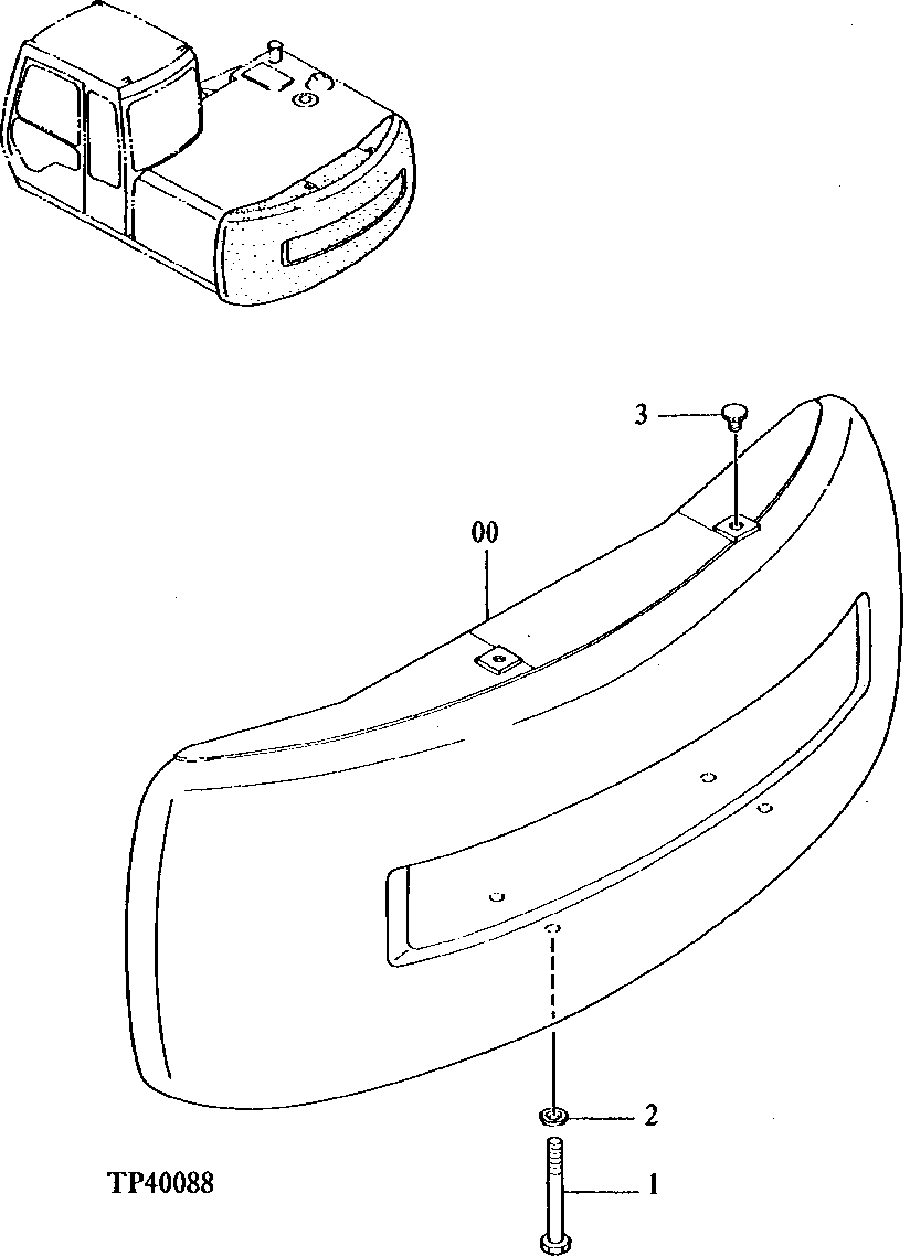
102 - Counterweight
№
Артикул
Название
Примечание
Количество
0
Kit
( AT154449 NLA) Convenience Assembly
1шт.
1
J932721
Bolt
(SUB FOR TH103626)
4шт.
J932720
(SUB FOR TH100626)
2
4126485
Bushing
(SUB FOR TH100627)
3
4149678
Plug
(SUB FOR TH100634)
2шт.
Выбрано товаров: 0