Запчасти John Deere 90E 126 - Window Washer ( - 025789) 1810 Operator Enclosure

Схема запчастей John Deere 90E - 126 - Window Washer ( - 025789) 1810 Operator Enclosure
FIT
1:1
100%

Артикул

Название

Примечание

Количество

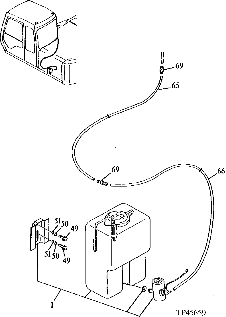
1

Windshield Washer

( 4282792, 4333185 AND AT177807 NLA) (SU B 4333185 AND 4365327) (SUB FOR AT177804)

1шт.

49

19M8425

Cap Screw

M6 X 16

2шт.

50

12M7006

Lock Washer

6 mm

2шт.

51

24M7054

Washer

6.400 X 12 X 1.600 mm

2шт.

65

Hose

(CTL FROM R54445 BULK MATERIAL)

1шт.

66

Hose

(CTL FROM R54445 BULK MATERIAL)

1шт.

69

4254237

Adapter Fitting

(SUB FOR AT126799)

2шт.

Выбрано товаров: 7