Запчасти John Deere 90E 8 - Track Chains 0130 Track Systems

Схема запчастей John Deere 90E - 8 - Track Chains 0130 Track Systems
FIT
1:1
100%

Артикул

Название

Примечание

Количество

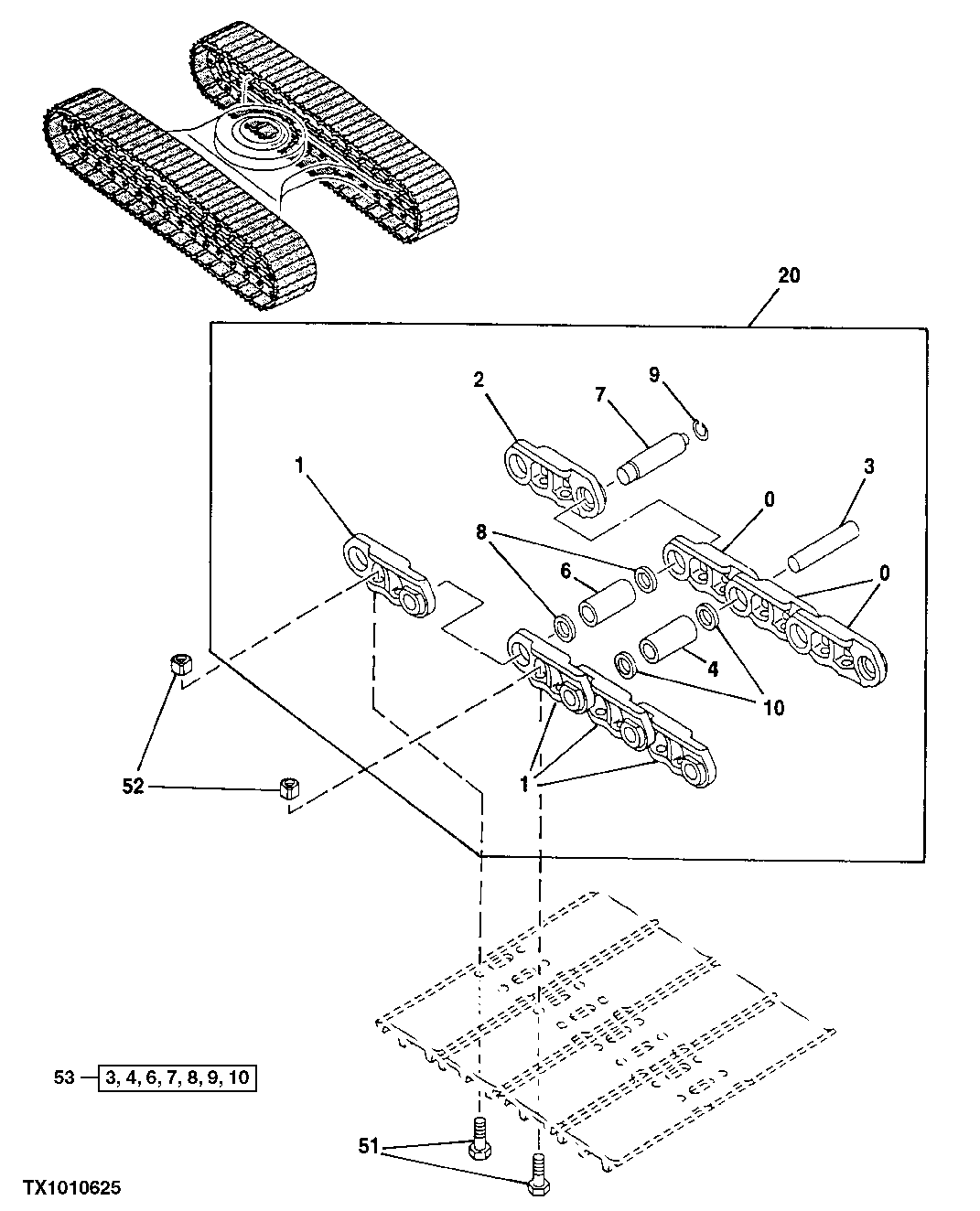
0

T212009

Strutted LINK-RH

Each Side (SUB FOR AT185783)

43шт.

1

T212015

Track Link

Each Side (SUB FOR AT185784)

44шт.

2

T212029

Master Track LINK-RH

Each Side Master (SUB FOR AT185785)

1шт.

3

T212040

Track Pin

175mm , Each Side (LGTH) (SUB FOR AT185786)

43шт.

4

T212042

Track Bushing

Each Side (SUB FOR AT180441 OR T191229)

43шт.

6

T212043

Master Track Bushing

Each Side Master (SUB F OR AT180442 OR T191230)

1шт.

7

T212044

Master Track Pin

172mm , Each Side (LGTH) (SUB FOR AT185788)

1шт.

8

T212045

Spacer

Each Side (SUB FOR AT185789)

2шт.

9

T212046

Snap Ring

Each Side (SUB FOR 41926 65, TH108899 OR DH400631)

1шт.

10

T212048

Seal

Each Side (SUB FOR AT1 85787 (M SEAL DESIGN))

86шт.

20

AT316036

Track Chain W/O Shoes

One Each Side Of Unit (SUB FOR AT185781)

2шт.

51

T212050

Track Bolt

Each Side (SUB FOR AT180444)

176шт.

52

T212051

Nut

Each Side (SUB FOR AT180443)

176шт.

53

AT324665

Pin & Bushing Kit

(ALSO ORDER (3) T212040, (3) T212042 AND (6) T212048) (SUB FOR AT185795)

1шт.

Выбрано товаров: 14