Запчасти John Deere 90E 173 - Hydraulic Oil Tank And Filter 2160 Vehicle Hydraulics

Схема запчастей John Deere 90E - 173 - Hydraulic Oil Tank And Filter 2160 Vehicle Hydraulics
FIT
1:1
100%

Артикул

Название

Примечание

Количество

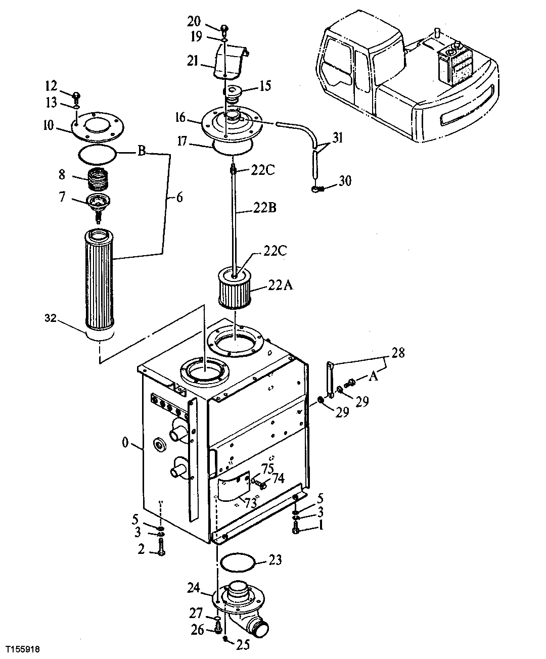
0

5003390

Tank

(SUB FOR AT154448)

1шт.

1

19M7488

Cap Screw

M16 X 40

2шт.

2

19M7720

Cap Screw

M16 X 80

2шт.

3

12H294

Lock Washer

5/8"

4шт.

5

24M7338

Washer

17 X 30 X 3 mm

4шт.

6

AT308569

Filter Element

(ALSO ORDER AT194547) (SUB FO R TH111010) (SUB FOR 4227353)

1шт.

6B

CH17213

Packing

1шт.

6C

AT171693

Filter

Not Illustrated Cleanup Filter Limit ed Use (APPROXIMATELY 3 HOURS) (IDLE SPEED) (ALSO REQUIRES CH17213 PACKING )

1шт.

7

4065280

Flow Control Hyd. Valve

(SUB FOR TH101887)

1шт.

8

4109393

Spring

(SUB FOR TH101883)

1шт.

10

4264508

Cover

(SUB FOR AT154296)

1шт.

12

19M7938

Cap Screw

M10 X 20

5шт.

13

12M7066

Lock Washer

10 mm

5шт.

15

4294701

Cap

(SUB FOR TH100671) (SUB FOR AT155393)

1шт.

16

8049319

Cover

(SUB FOR AT154496)

1шт.

17

TH100679

O-Ring

1шт.

19

12M7066

Lock Washer

10 mm

6шт.

20

19M7402

Cap Screw

M10 X 25

6шт.

21

4282883

Plate

(SUB FOR AT154360)

1шт.

22A

4285577

Strainer

(SUB FOR AT154383)

1шт.

22B

4285578

Rod

(SUB FOR AT154384)

1шт.

22C

14M7274

Nut

M10

3шт.

23

TH102793

O-Ring

1шт.

24

2038156

Line

(SUB FOR AT154073) (SUB FOR AT176388)

1шт.

25

942011

Fitting Plug

(SUB FOR 94-2011 AND TH100434)

1шт.

26

19M7662

Cap Screw

M10 X 30

5шт.

27

12M7066

Lock Washer

10 mm

5шт.

28

8053499

Level Gauge

(SUB FOR TH108293)

1шт.

28A

4100967

Bolt

(SUB FOR TH101894)

2шт.

29

449558

Washer

(SUB FOR TH100675)

4шт.

30

T24432

Clamp

(SUB FOR TH108595)

1шт.

31

Bulk Hose

(SUB FOR TH100673) (MF PMK0 10-0507 CTL) ( 4149677 NLA)

1шт.

32

AT194547

O-Ring

1шт.

73

4287952

Cover

(SUB FOR AT154999)

1шт.

74

19M8324

Cap Screw

M10 X 16

2шт.

75

12M7066

Lock Washer

10 mm

2шт.

Выбрано товаров: 36