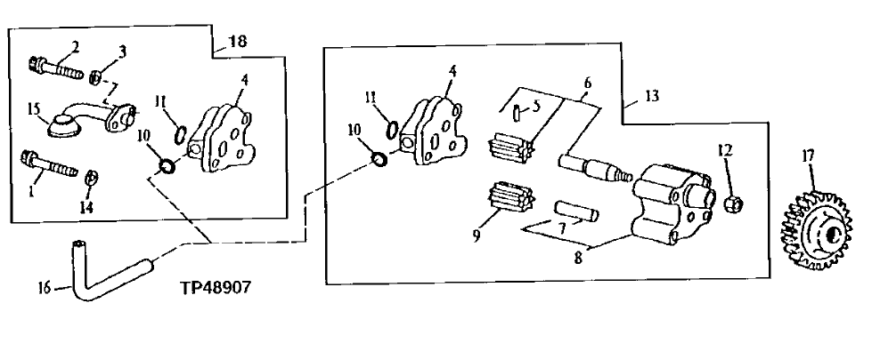
Запчасти John Deere 90E 38 - Engine Oil Pump (XXXXXX - ) 0407 Engine Oiling System 4045TT009 4045TT009

Схема запчастей John Deere 90E - 38 - Engine Oil Pump (XXXXXX - ) 0407 Engine Oiling System 4045TT009 4045TT009
FIT
1:1
100%

Артикул

Название

Примечание

Количество

1

R125586

Cap Screw

(SUB FOR R57059)

1шт.

2

R74552

Screw

2шт.

3

R74553

Washer

10 X 16 X 3.050 mm (0. 394" X 0.630" X 0.120")

2шт.

4

Cover

1шт.

5

34H280

Spring Pin

3/16" X 7/8" (SUB FOR M 3853T, THIS APPLICATION)

1шт.

6

AR62978

Pinion

1шт.

7

T20091

Dowel Pin

1шт.

8

Housing

(MARKED R54615)

1шт.

9

R54614

Gear

(7 TEETH)

1шт.

10

R74354

O-Ring

1шт.

11

R61871

O-Ring

1шт.

12

14H826

Nut

1/2"

1шт.

13

RE55343

Pump Kit

(OIL PUMP)

1шт.

14

R74553

Washer

10 X 16 X 3.050 mm (0. 394" X 0.630" X 0.120")

2шт.

15

RE54412

Oil Pump Intake

1шт.

16

R113752

Oil Tube

1шт.

17

T20298

Gear

(33 TEETH)

1шт.

18

RE55345

Oil Pump Intake

(INTAKE AND COVER)

1шт.

Выбрано товаров: 18